- Partiron
- OEM Parts
- Suzuki
- Motorcycle
- 2013
- DR200SE (2013)
CARBURETOR (DR200SEL3 E03)
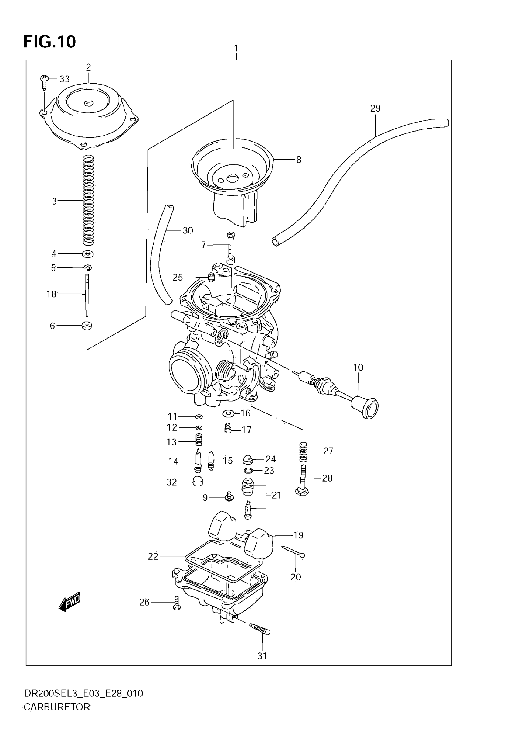
Suzuki DR200SE (2013) CARBURETOR (DR200SEL3 E03) Diagram
#
Description
Price
CARBURETOR (DR200SEL3 E03)
#
Edit ride
