- Partiron
- OEM Parts
- Suzuki
- Motorcycle
- 2005
- DR200SE (2005)
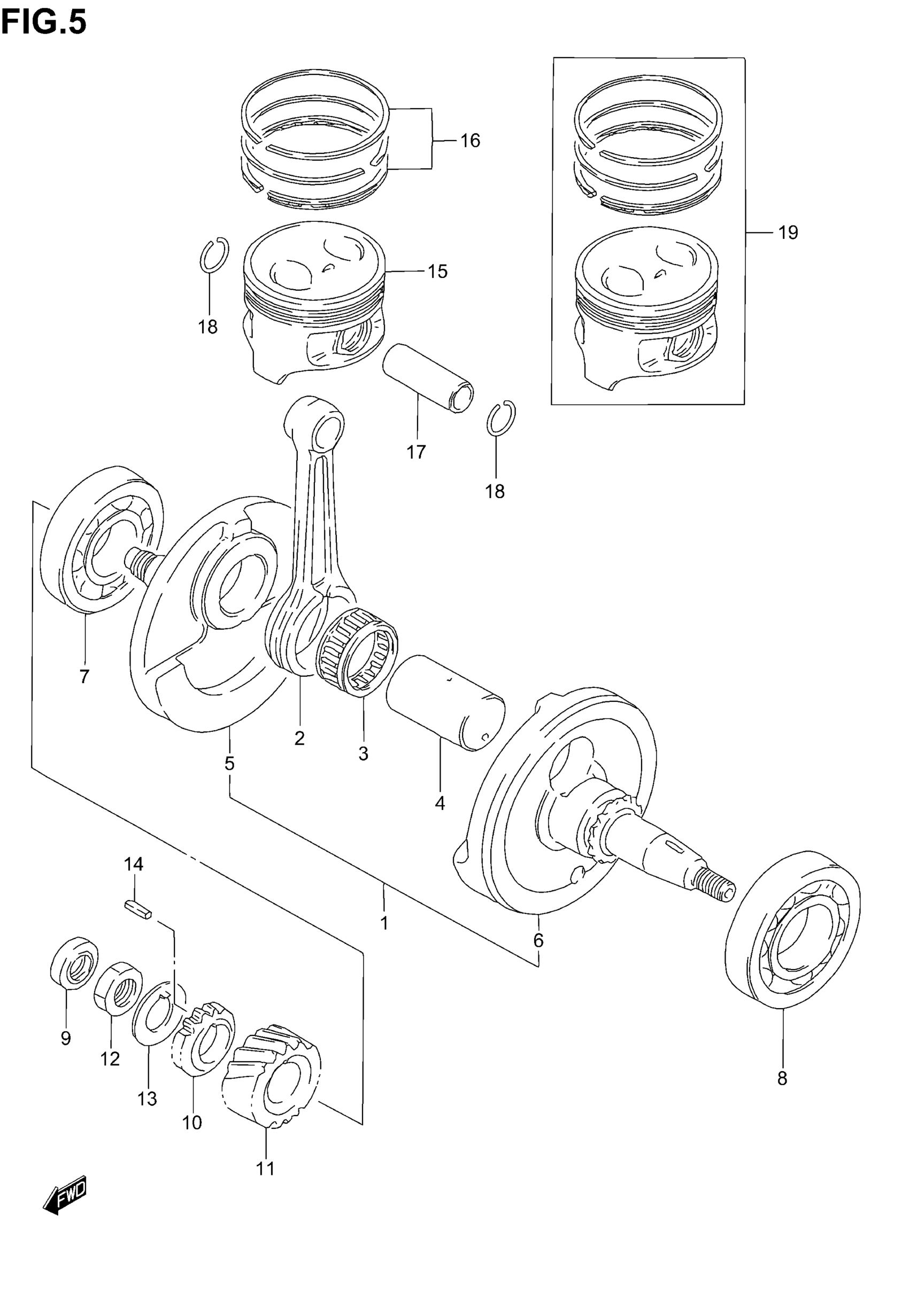
CRANKSHAFT
Suzuki DR200SE (2005) CRANKSHAFT Diagram
#
Description
Price
5
CRANKSHAFT, RH
12221-42A02
Unavailable
6
CRANKSHAFT, LH | MODEL K1/K2/K3 This part replaces 12261-42A10.
12261-42A20
Unavailable
6
CRANKSHAFT, LH | MODEL K4/K5
12261-42A20
Unavailable
10
GEAR, OIL PUMP DRIVE (NT:15)
16321-42A00
Unavailable
11
GEAR, PRIMARY DRIVE (NT:19)
21111-42A01
Unavailable
