Partiron

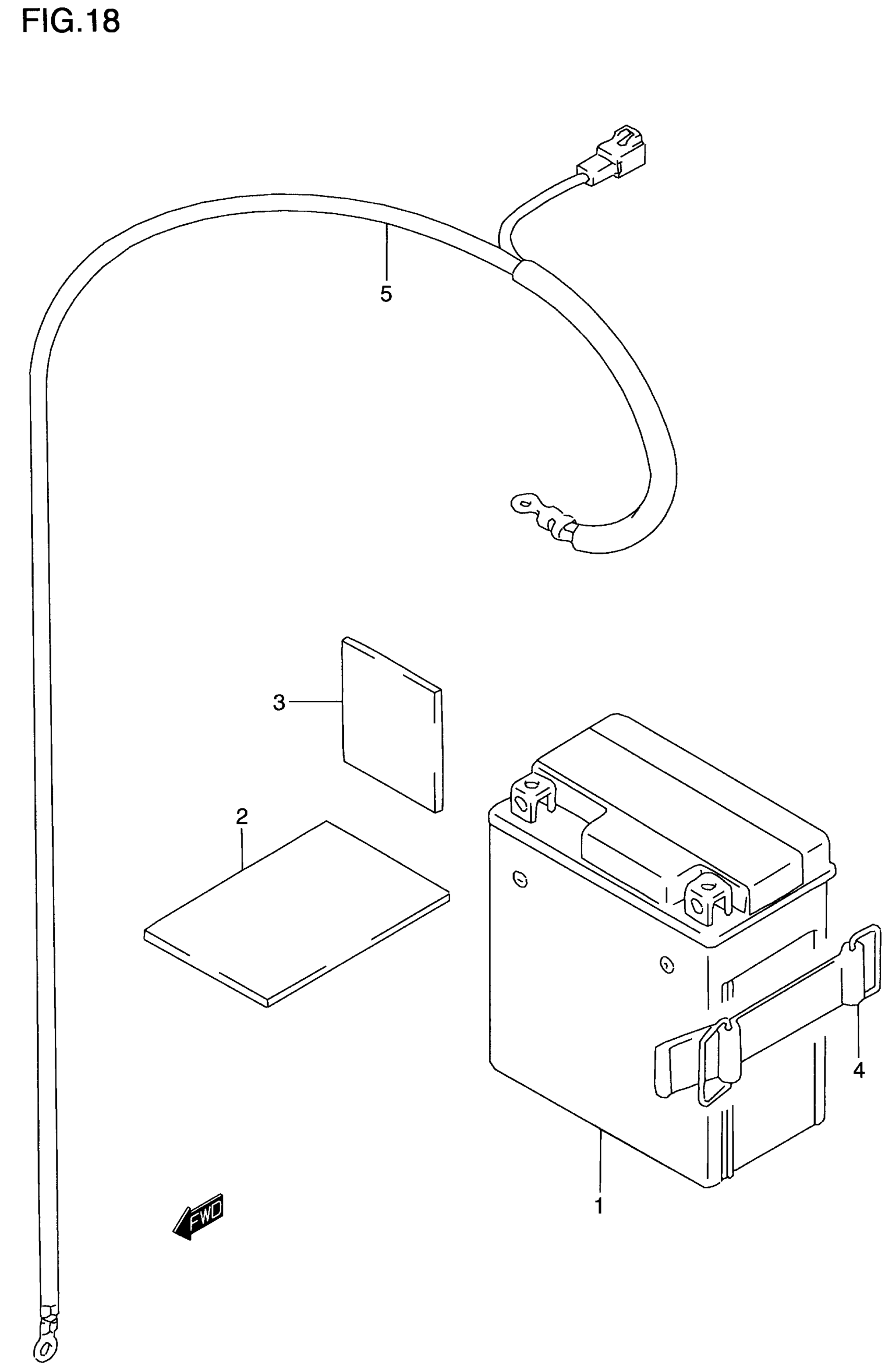
Suzuki DR200SE (2000) BATTERY Diagram

#

Description
Price

1

BATTERY ASSY (YTX7L-BS,12V,6AH) | MODEL T/V This part replaces 33610-15D10.

33610-15D20

$76.28

1

BATTERY ASSY (12V,6AH) (YTX7L-BS,12V,6AH) (YTX7L-BS,12V,6AH) | MODEL W/X/Y (40X85X3)

33610-15D20

$76.28

3

PROTECTOR (170X95X3) | CUT AS REQUIRED PROFILE (50X30X3)

33651-37000

$4.48

4

BAND

09462-00093

$9.24

5

WIRE,BATTERY MI This part replaces 33860-44A00.

33860-44A01

$25.55