- Partiron
- OEM Parts
- Suzuki
- Motorcycle
- 1996
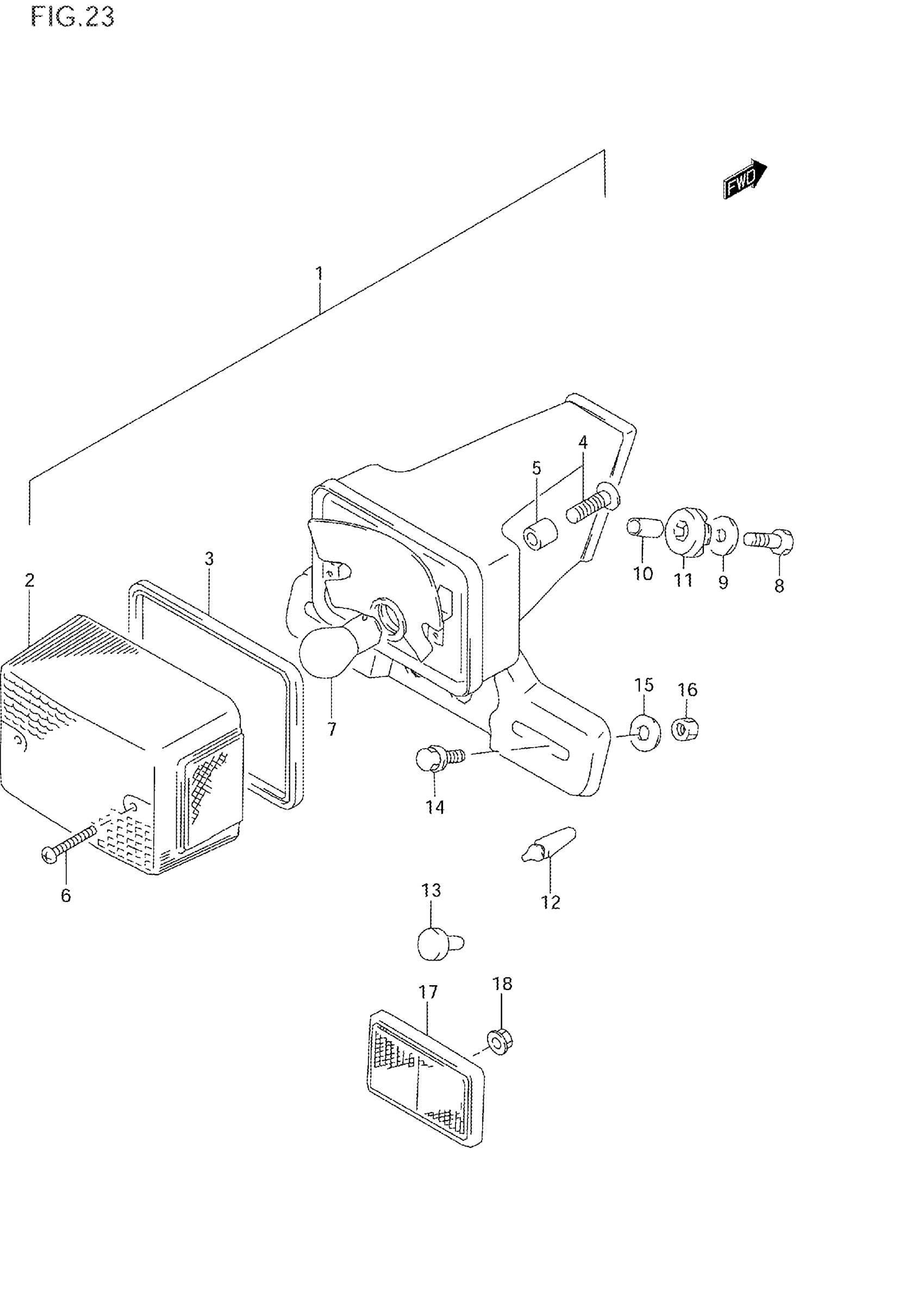
- DR125SE (1996)
REAR COMBINATION LAMP
Suzuki DR125SE (1996) REAR COMBINATION LAMP Diagram
#
Description
Price
17
REFLECTOR ASSY, REAR
35970-14A00
Unavailable
