- Partiron
- OEM Parts
- Suzuki
- Motorcycle
- 2016
- DR-Z70L6 (2016)
TRANSMISSION
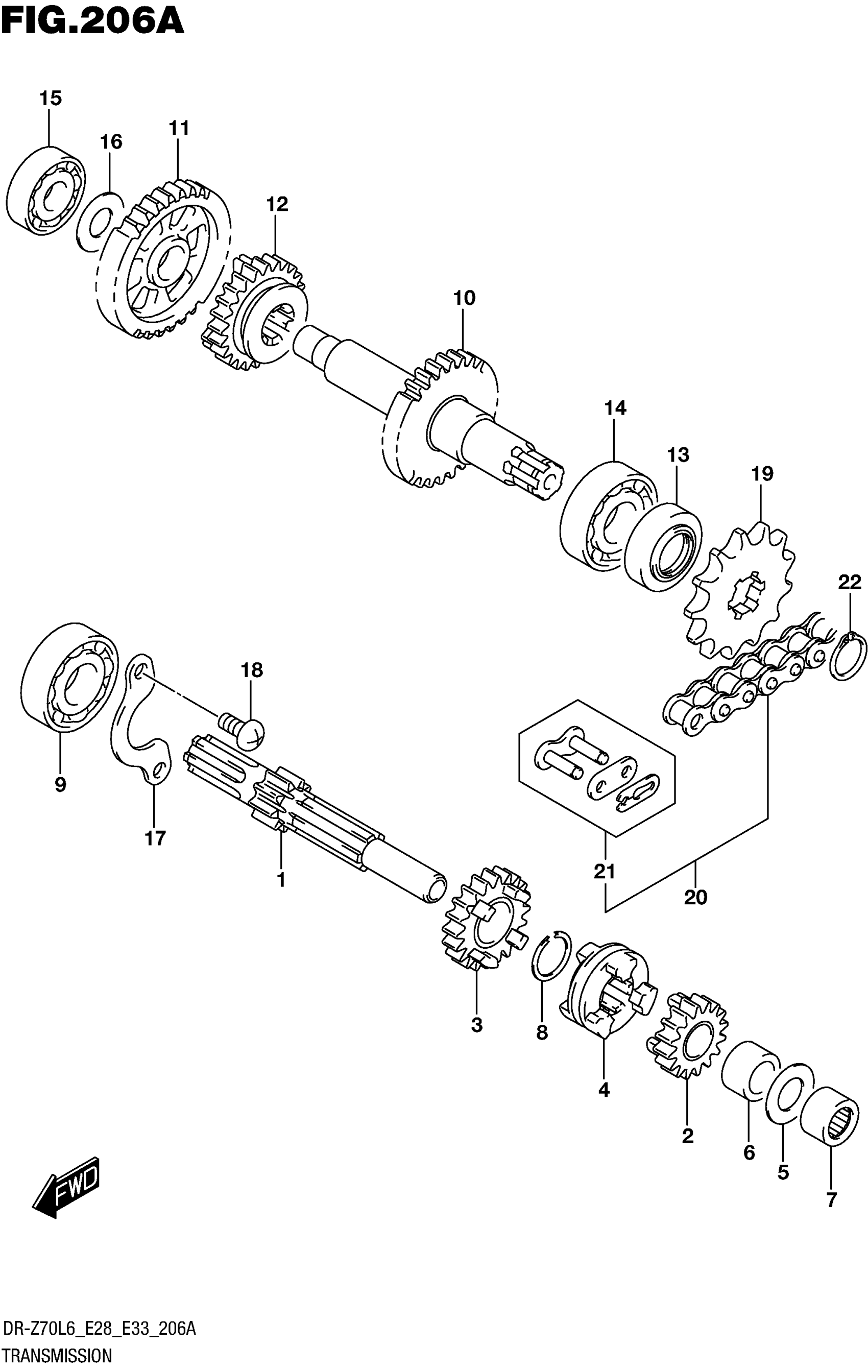
Suzuki DR-Z70L6 (2016) TRANSMISSION Diagram
#
Description
Price
1
SHAFT, COUNTER (NT:10)
24121-02A02
Unavailable
2
GEAR, 2ND DRIVE (NT:16)
24220-02A01
Unavailable
3
GEAR, 3RD DRIVE (NT:20)
24231-35404
Unavailable
4
WHEEL, SLIDING DOG
24421-14H00
Unavailable
5
WASHER (13X24X1)
09160-13006
Unavailable
6
SPACER (13X19X12.5)
09180-13008
Unavailable
8
CIRCLIP
09380-17007
Unavailable
10
SHAFT, DRIVE (NT:29)
24130-02A00
Unavailable
11
GEAR, 1ST DRIVEN (NT:34)
24310-30A01
Unavailable
12
GEAR, 3RD DRIVEN (NT:24)
24331-02A01
Unavailable
17
RETAINER, CENTER SHAFT BEARIN
24741-09401
Unavailable
