- Partiron
- OEM Parts
- Suzuki
- Motorcycle
- 2009
- DR-Z70 (2009)
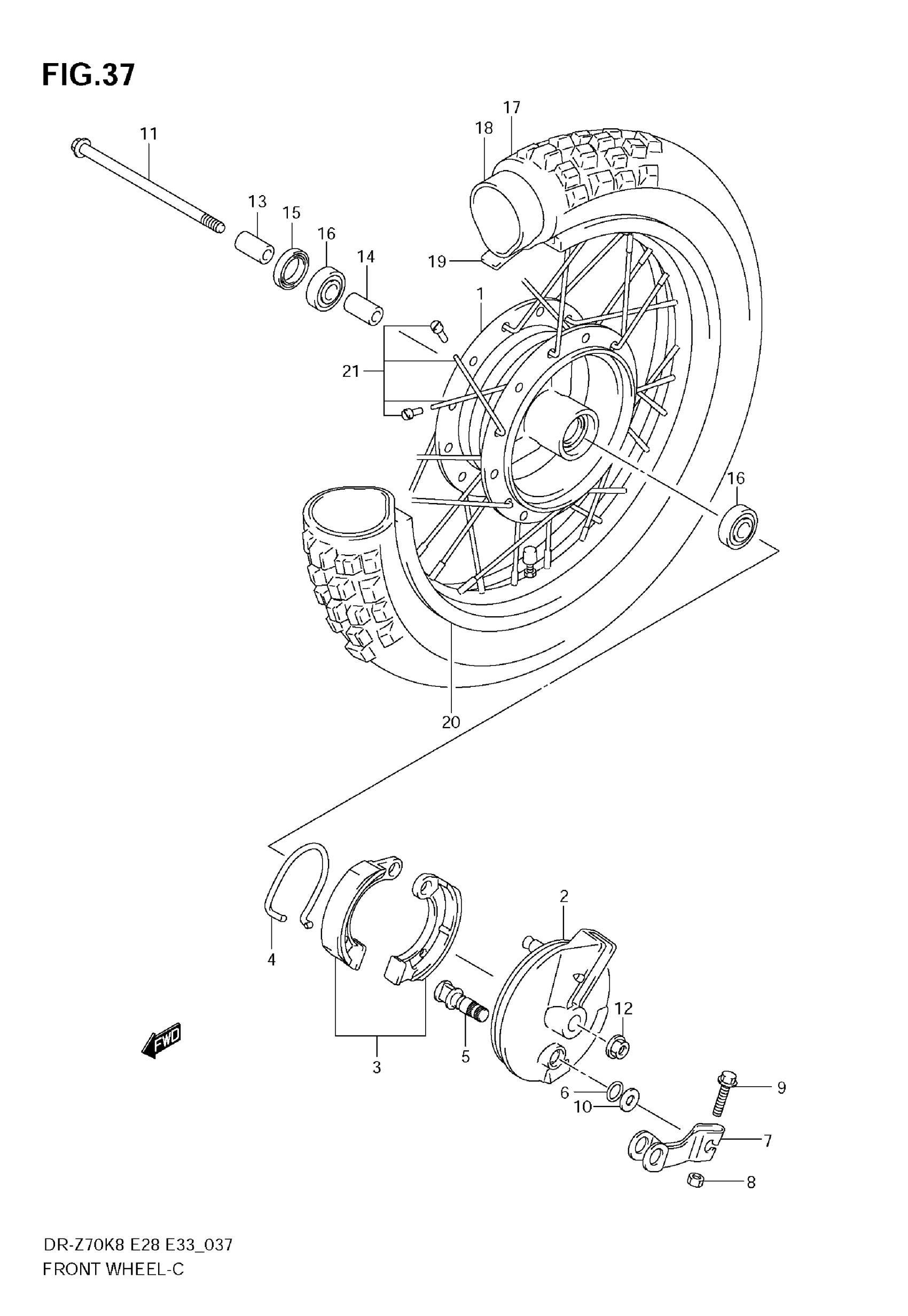
FRONT WHEEL
Suzuki DR-Z70 (2009) FRONT WHEEL Diagram
#
Description
Price
1
DRUM, FRONT HUB
54110-14H00
Unavailable
2
PANEL, FRONT BRAKE ANCHOR
54210-14H00
Unavailable
13
SPACER, AXLE RH
54741-14H00
Unavailable
14
SPACER, FRONT HUB BEARING
54731-14H00
Unavailable
