- Partiron
- OEM Parts
- Suzuki
- Motorcycle
- 2019
- DR-Z400SML9 (2019)
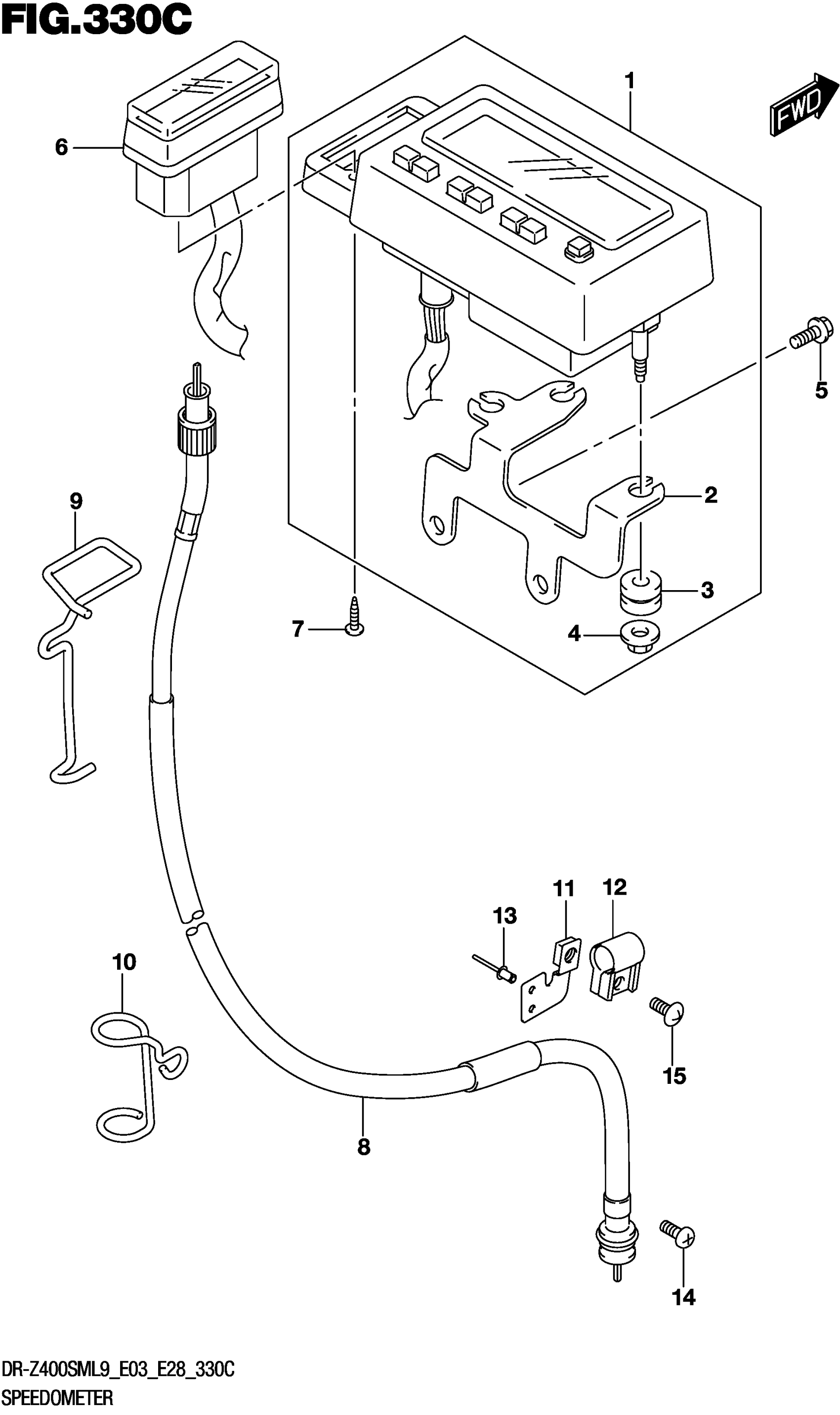
SPEEDOMETER (DR-Z400SML9 E33)
Suzuki DR-Z400SML9 (2019) SPEEDOMETER (DR-Z400SML9 E33) Diagram
#
Description
Price
SPEEDOMETER (DR-Z400SML9 E33)
#
Edit ride
