- Partiron
- OEM Parts
- Suzuki
- Motorcycle
- 2018
- DR-Z400SML8 (2018)
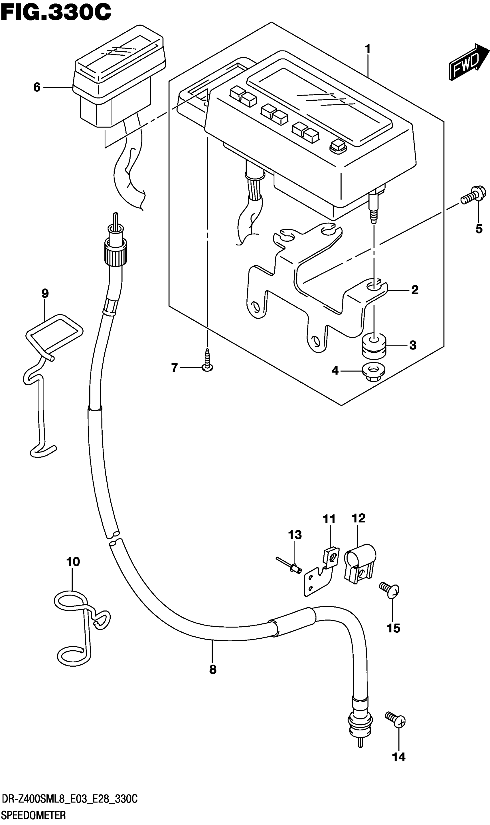
SPEEDOMETER (DR-Z400SML8 E33)
Suzuki DR-Z400SML8 (2018) SPEEDOMETER (DR-Z400SML8 E33) Diagram
#
Description
Price
SPEEDOMETER (DR-Z400SML8 E33)
#
Edit ride
