Partiron

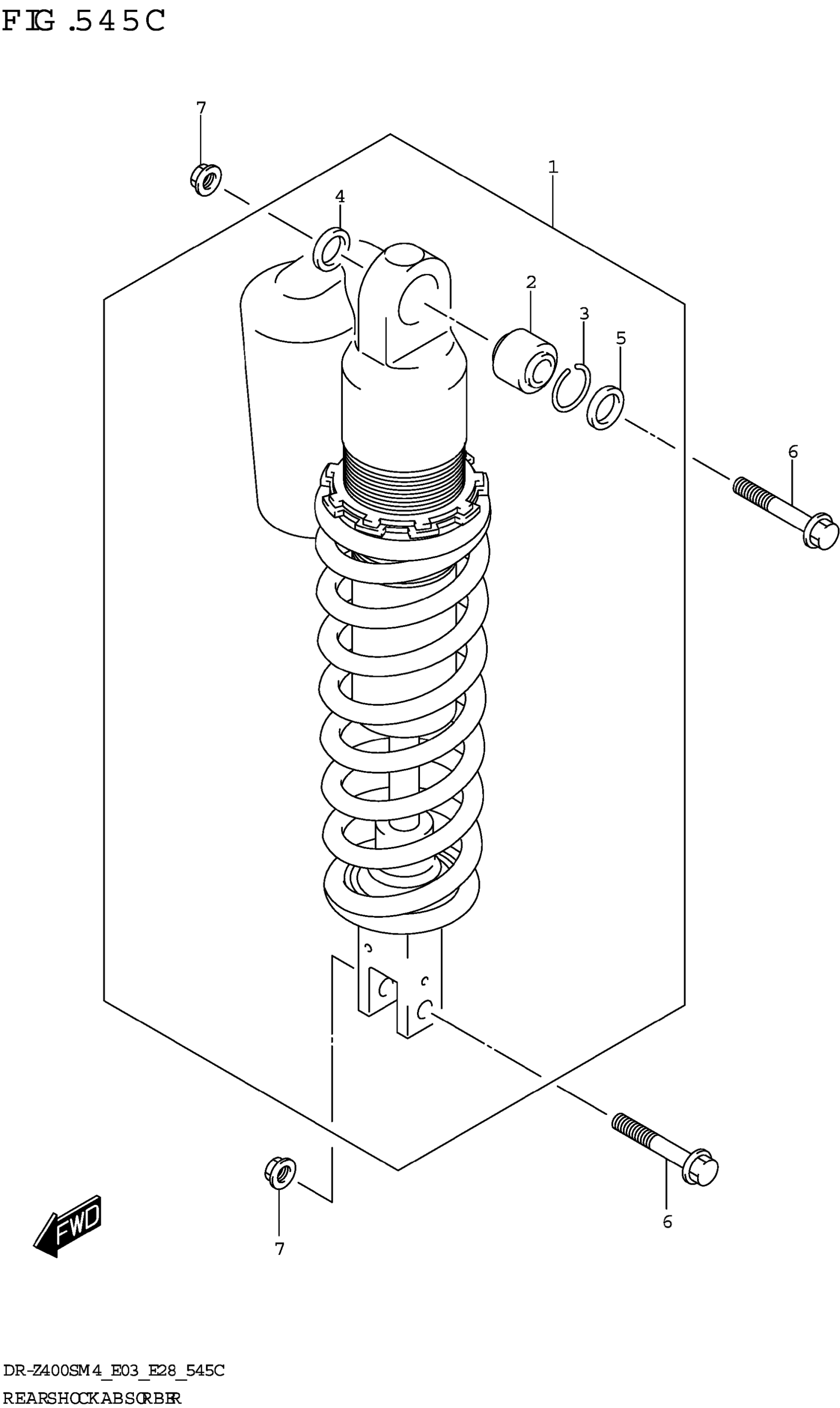
Suzuki DR-Z400SM4 (2024) REAR SHOCK ABSORBER (DR-Z400SM) Diagram

#

Description
Price

1

ABSORBER ASSY REAR SHOCK (BLA | K)

62100-29FQ1-019

$1,659.47

2

.BEARING RR SHOCK ABSORBER (1 | X26X22)

62175-36E00

$102.82

3

.RING STOPPER

62277-27C40

$3.95

4

.SEAL DUST UPR R

62226-36E00

$10.12

5

.SEAL DUST UPR L

62226-36E10

$10.32

6

BOLT (10X47.5)

09103-10149

$3.70

7

NUT (M10)

09159-10115

$3.55