- Partiron
- OEM Parts
- Suzuki
- Motorcycle
- 2021
- DR-Z400SM1 (2021)
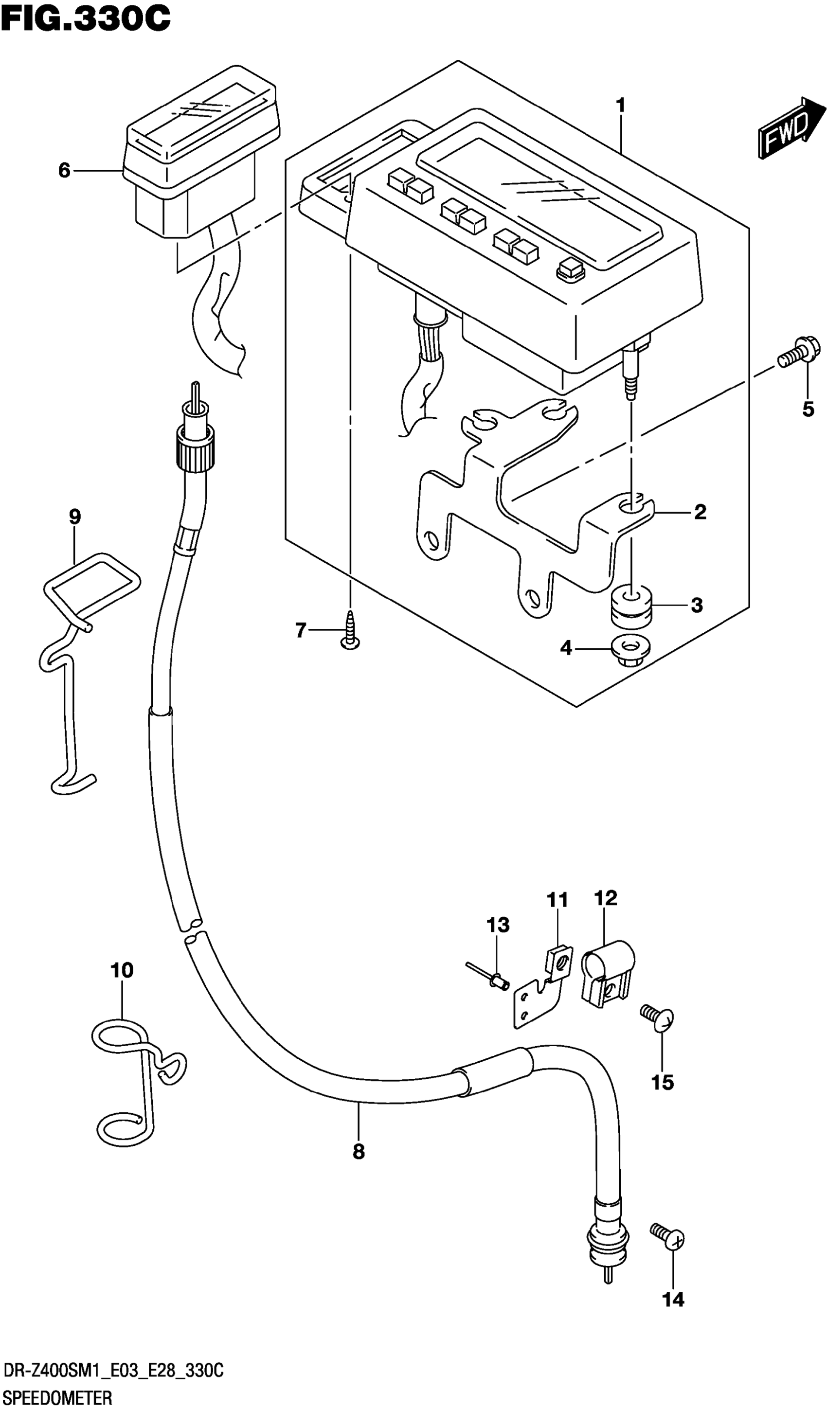
SPEEDOMETER (DR-Z400SM:E28)
Suzuki DR-Z400SM1 (2021) SPEEDOMETER (DR-Z400SM:E28) Diagram
#
Description
Price
SPEEDOMETER (DR-Z400SM:E28)
#
Edit ride
