- Partiron
- OEM Parts
- Suzuki
- Motorcycle
- 2008
- DR-Z400SM (2008)
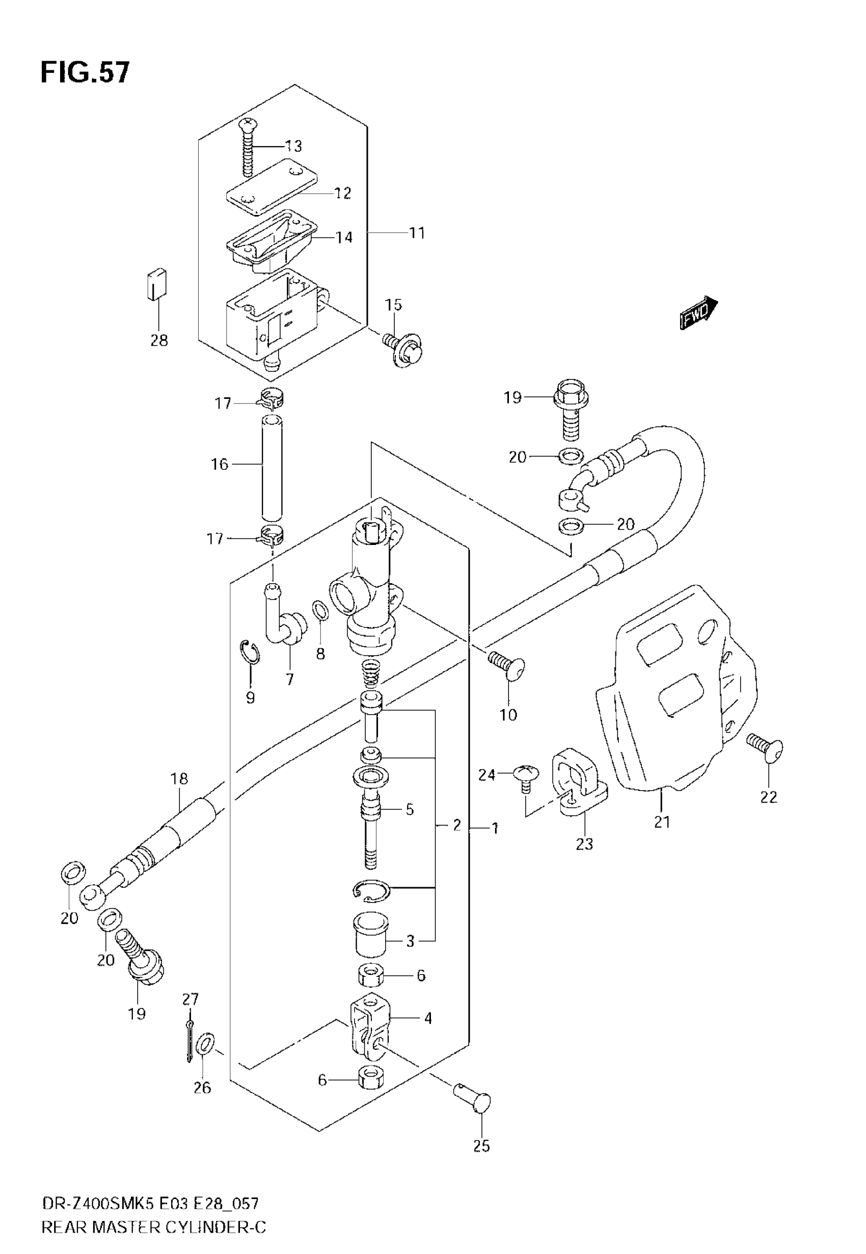
REAR MASTER CYLINDER
Suzuki DR-Z400SM (2008) REAR MASTER CYLINDER Diagram
#
Description
Price
11
TANK ASSY, RESERVOIR | Includes Item(s) 12 - 14 This part replaces 69740-44E00.
69740-44E01
$58.82
