Partiron

Suzuki DR-Z400SL9 (2019) FUEL COCK Diagram

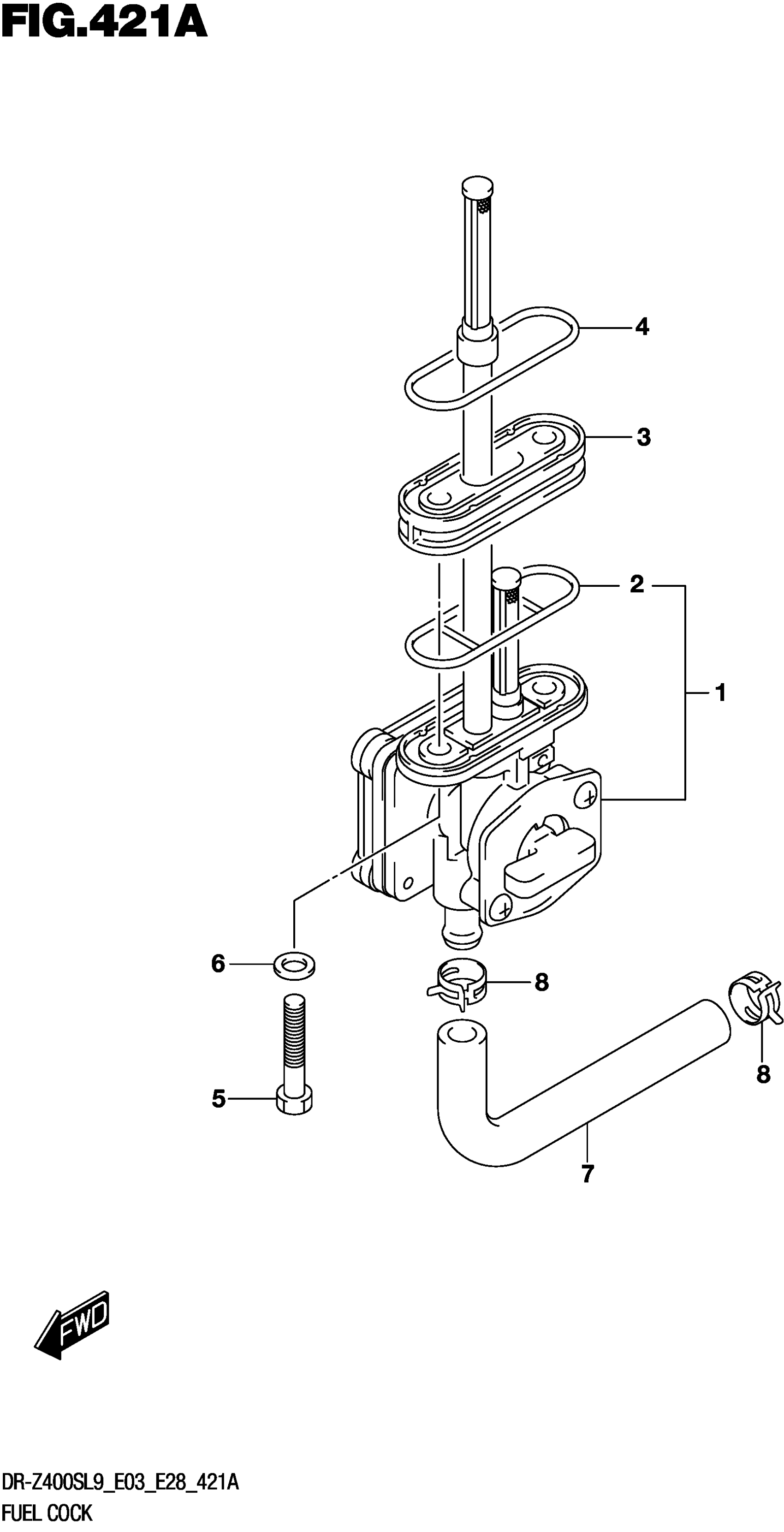
#

Description
Price

1

COCK ASSY FUEL This part replaces 44300-29F20.

44300-29F21

$101.52

2

.GASKET JOINT This part replaces 44348-87420.

44348-87421

$5.35

3

SPACER FUEL COCK

44365-29F00

$30.32

4

GASKET FUEL COCK This part replaces 44366-14A00.

44366-14A01

$2.91

5

SCREW (6X30)

09128-06010

$1.65

6

GASKET (6.4X11.5X0.84)

09168-06026

$3.10

7

HOSE FUEL This part replaces 44421-29F50.

44421-29F60

$14.46

8

CLIP

09401-11415

$2.23