Partiron

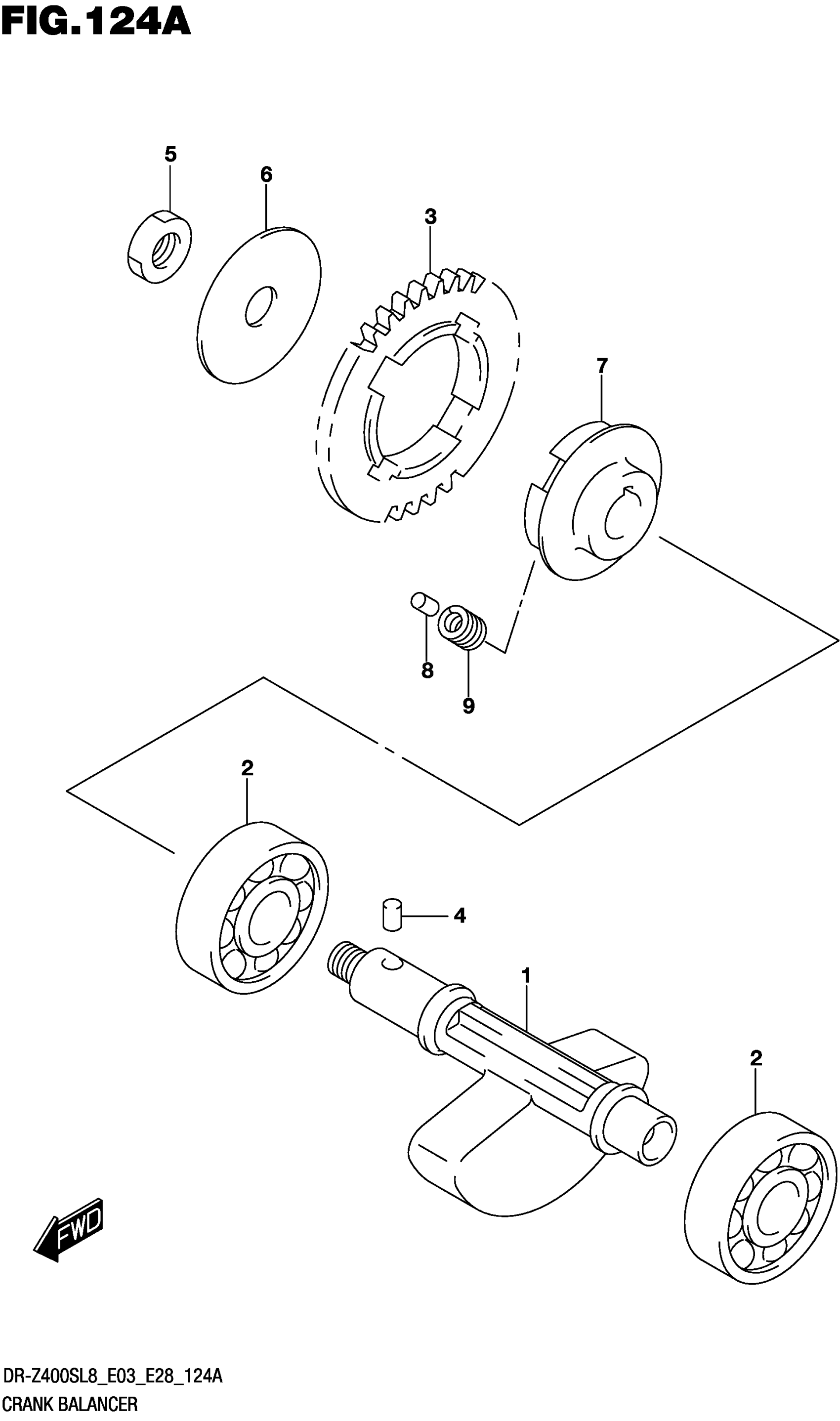
Suzuki DR-Z400SL8 (2018) CRANK BALANCER Diagram

#

Description
Price

1

BALANCER CRANK

12651-29F00

$137.72

2

BEARING (15X42X13)

09262-15030

$26.12

3

GEAR CRANK BALANCER DRIVEN (N

12666-29F11

$135.35

3

GEAR CRANK BALANCER DRIVEN (N

12666-29F11

$135.35

4

PIN (5X8)

09261-05005

$1.49

5

NUT (M12)

09140-12039

$3.05

6

SHIM (12.2X47X1.6)

09181-12009

$6.05

7

RACE CRK BAL DRIVEN

12669-29F01

$78.80

7

RACE CRK BAL DRIVEN

12669-29F01

$78.80

8

PIN (4.5X9.5)

09202-04017

$3.78

9

SPRING

09440-09031

$2.98