Partiron

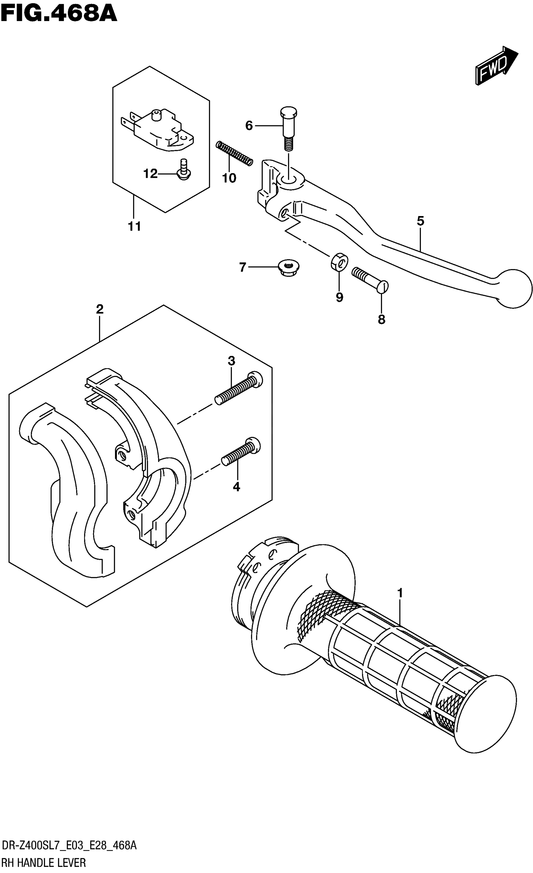
Suzuki DR-Z400SL7 (2017) RH HANDLE LEVER Diagram

#

Description
Price

1

GRIP THROTTLE

57110-12D11

$37.11

2

CASE ASSY THROTTLE

57100-14D00

$70.49

3

.SCREW

02112-0525B

$1.84

4

.SCREW

02112-0520B

$1.84

5

LEVER, BRAKE

57421-44E00

$14.60

6

BOLT, BRAKE LEVER

57431-14500

$6.28

7

NUT

08319-2106A

$1.91

8

BOLT, ADJUST

57431-14511

$5.80

9

NUT

08310-0005A

$1.84

10

SPRING, RETURN

57318-14502

$4.48

11

SWITCH ASSY,FR BRAKE This part replaces 57460-14J01.

57460-14J02

$38.46

12

.SCREW

57465-17C00

$2.19