Partiron

Suzuki DR-Z400SL6 (2016) SEAT Diagram

#

Description
Price

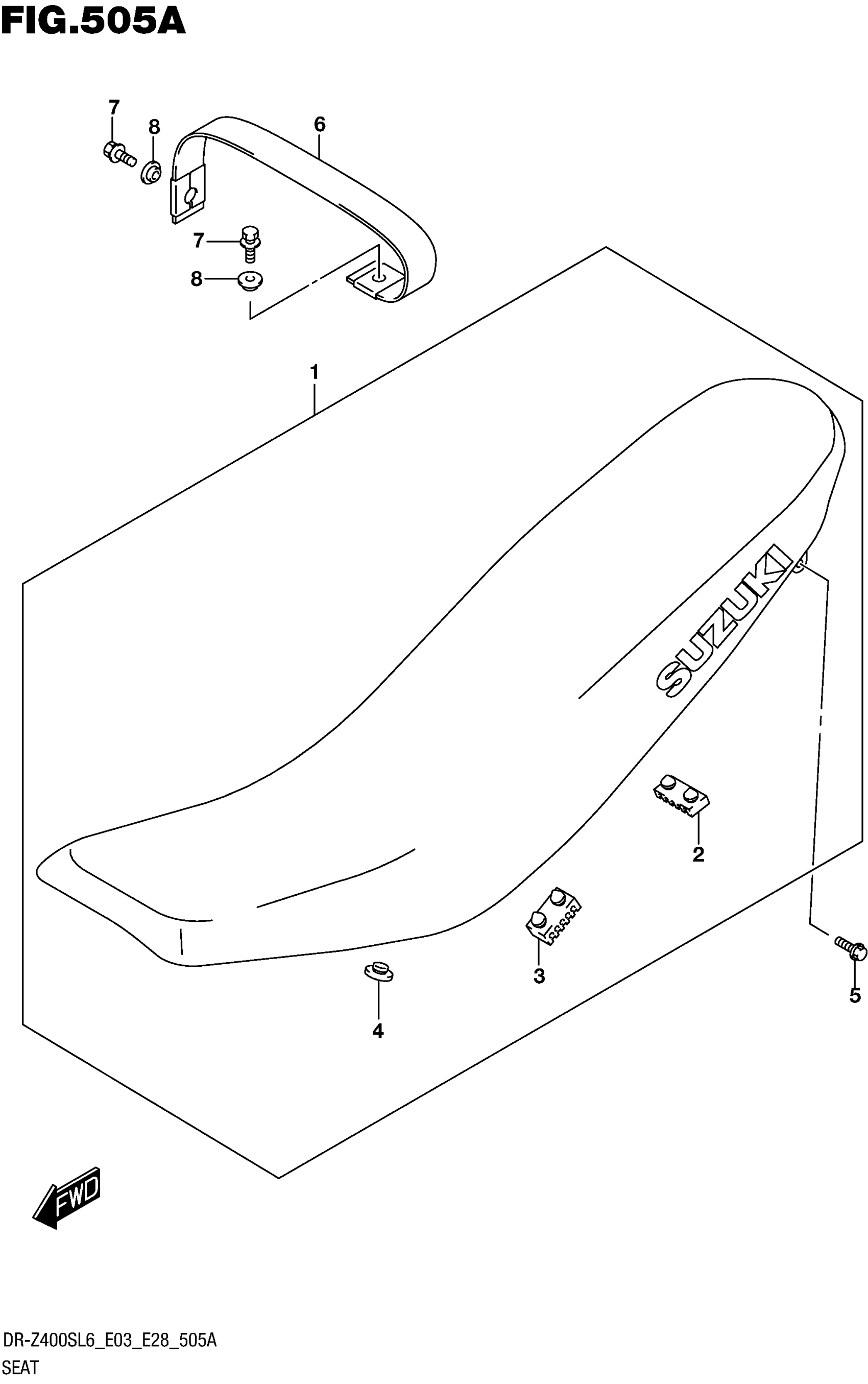
1

SEAT ASSY

45100-29FB0-BYD

Unavailable

2

.CUSHION (40X20X6)

45149-12C00

$6.63

2

(FRONT/REAR)

45149-12C00

$6.63

3

.CUSHION (40X20X15)(CENTER)

45149-31300

$3.56

4

CUSHION

09321-10022

$2.34

5

BOLT (6X20)

09116-06182

$2.30

6

BAND,SEAT This part replaces 45180-29F00-T5N.

45180-29F01-T5N

$64.25

7

BOLT (6X25)

09116-06150

$2.59

8

WASHER

09169-06063

$3.37