- Partiron
- OEM Parts
- Suzuki
- Motorcycle
- 2014
- DR-Z400SL4 (2014)
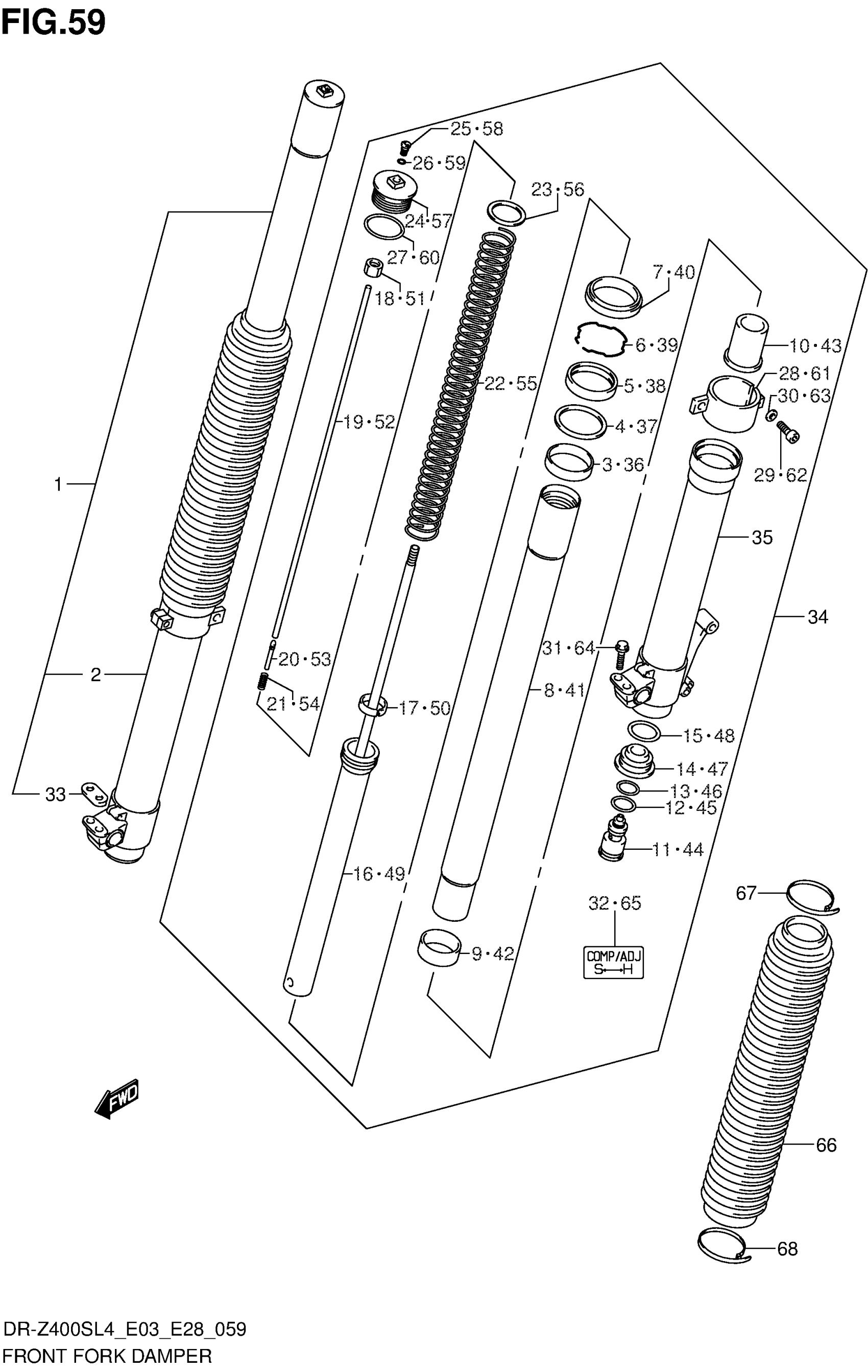
FRONT FORK DAMPER
Suzuki DR-Z400SL4 (2014) FRONT FORK DAMPER Diagram
#
Description
Price
1
DAMPER ASSY, FRONT FORK RH
51103-29F60
Unavailable
10
PIECE, OIL LOCK
51195-29F00
Unavailable
14
PLATE, END
51205-29F00
Unavailable
16
ROD, FRONT DAMPER
51190-29F00
Unavailable
19
ROD, PUSH
51191-29F00
Unavailable
22
SPRING, FR (K=8.63N/0.88KG)
51171-29F60
Unavailable
23
JOINT, SPRING
51192-36E00
Unavailable
43
PIECE, OIL LOCK
51195-29F00
Unavailable
47
PLATE, END
51205-29F00
Unavailable
49
ROD, FRONT DAMPER
51190-29F00
Unavailable
52
ROD, PUSH
51191-29F00
Unavailable
55
SPRING, FR (K=8.63N/0.88KG)
51171-29F60
Unavailable
56
JOINT, SPRING
51192-36E00
Unavailable
