- Partiron
- OEM Parts
- Suzuki
- Motorcycle
- 2011
- DR-Z400SL1 (2011)
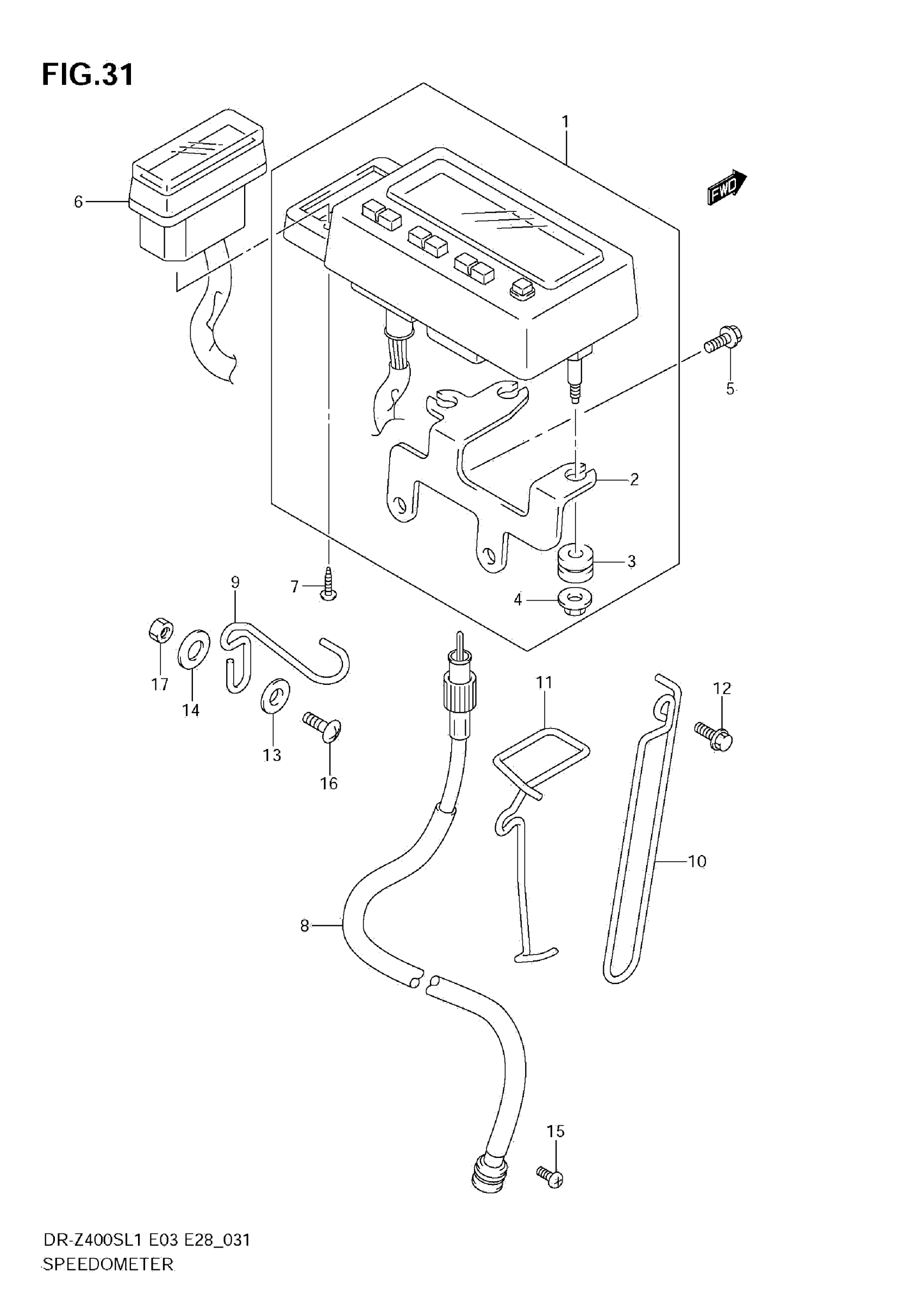
SPEEDOMETER (DR-Z400SL1 E33)
Suzuki DR-Z400SL1 (2011) SPEEDOMETER (DR-Z400SL1 E33) Diagram
#
Description
Price
SPEEDOMETER (DR-Z400SL1 E33)
#
Edit ride
