Partiron

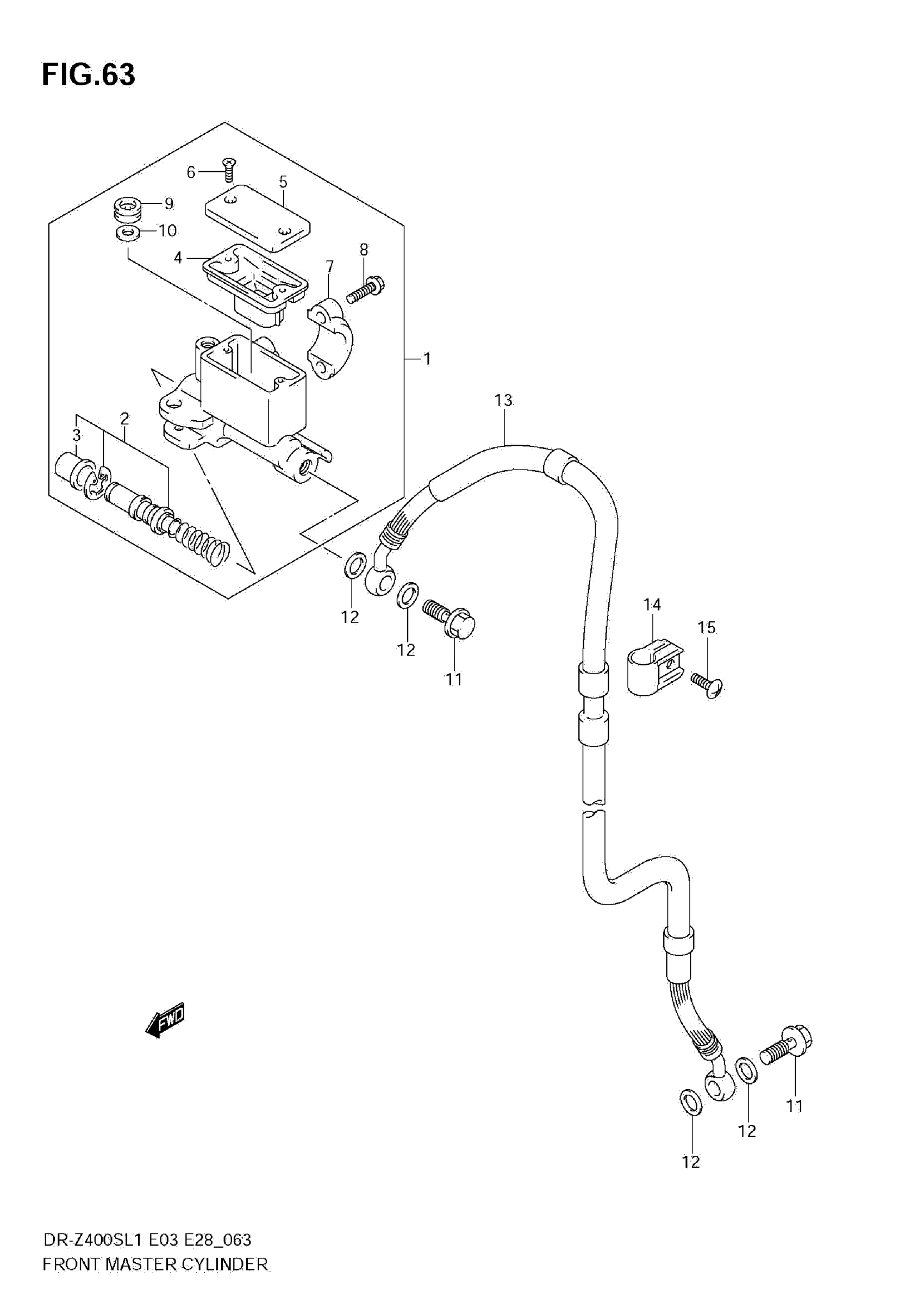
Suzuki DR-Z400SL1 (2011) FRONT MASTER CYLINDER Diagram

#

Description
Price

1

CYLINDER ASSY, FRONT MASTER

59600-44E30

$305.40

2

PISTON/CUP SET

69600-38810

$51.24

3

BOOT

59666-44300

$5.80

4

DIAPHRAGM

59667-44B00

$9.78

5

CAP (SILVER)

59669-03D00

$32.30

6

SCREW

02122-04127

$1.97

7

HOLDER (SILVER)

59671-03D00

$26.23

8

BOLT

59675-27C00

$3.54

9

SEPARATOR

59748-36E00

$9.37

10

RING

69744-36E00

$4.02

11

BOLT (10X1.25X22)

09360-10062

$6.43

12

WASHER (10X15X1.5)

09161-10009

$1.84

13

HOSE This part replaces 59480-29F11.

59480-29F12

$229.58

14

CLAMP BRAKE HOSE

58621-07A20

$4.07

15

SCREW

02142-0625B

$2.10