- Partiron
- OEM Parts
- Suzuki
- Motorcycle
- 2009
- DR-Z400S (2009)
FRONT FORK DAMPER
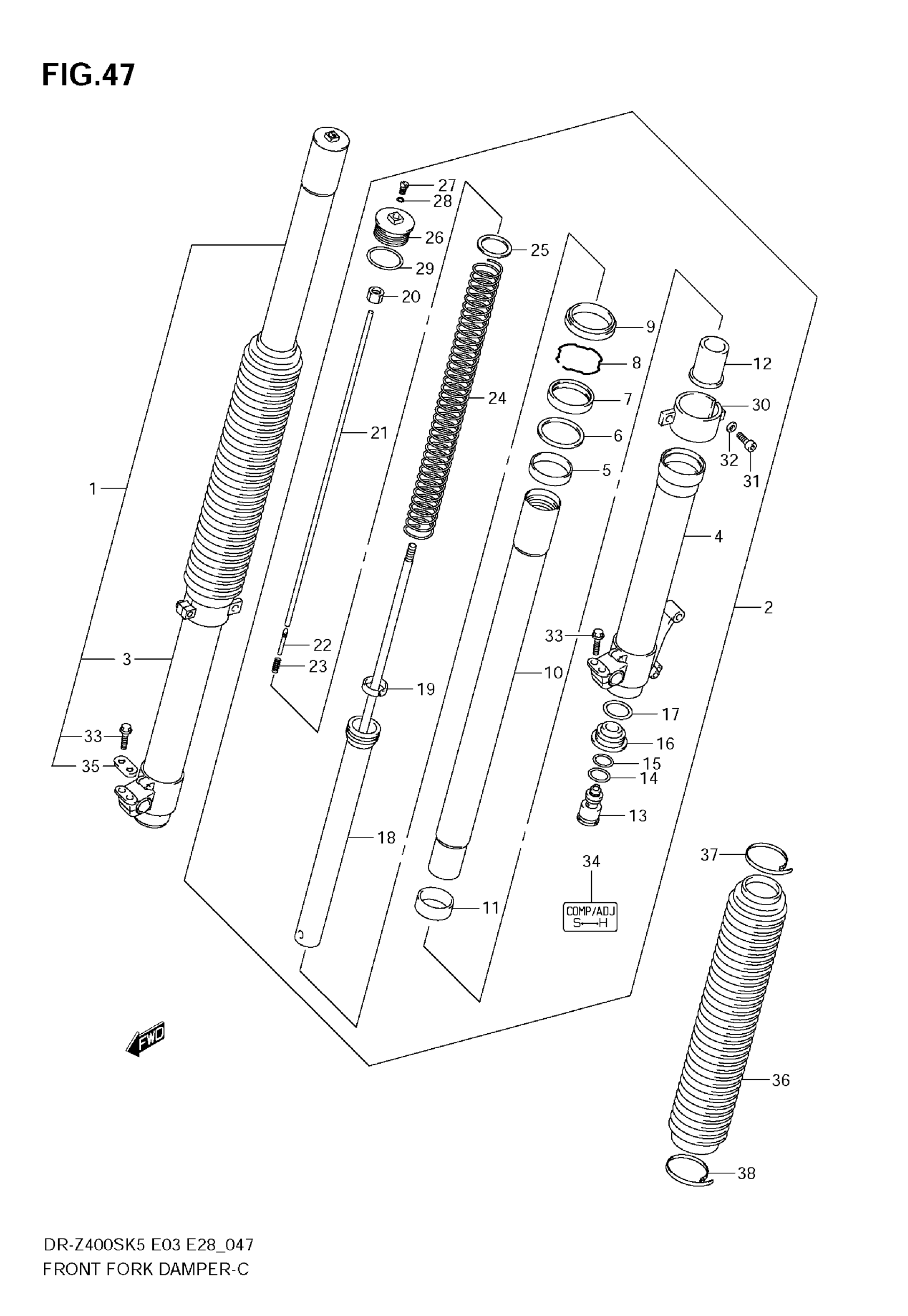
Suzuki DR-Z400S (2009) FRONT FORK DAMPER Diagram
#
Description
Price
1
DAMPER ASSY, FRONT FORK RH
51103-29F60
Unavailable
12
PIECE, OIL LOCK
51195-29F00
Unavailable
16
PLATE, END
51205-29F00
Unavailable
18
ROD, FRONT DAMPER
51190-29F00
Unavailable
21
ROD, PUSH
51191-29F00
Unavailable
24
SPRING, FR (K=8.63N/0.88KG)
51171-29F60
Unavailable
25
JOINT, SPRING
51192-36E00
Unavailable
