- Partiron
- OEM Parts
- Suzuki
- Motorcycle
- 2007
- DR-Z400E (2007)
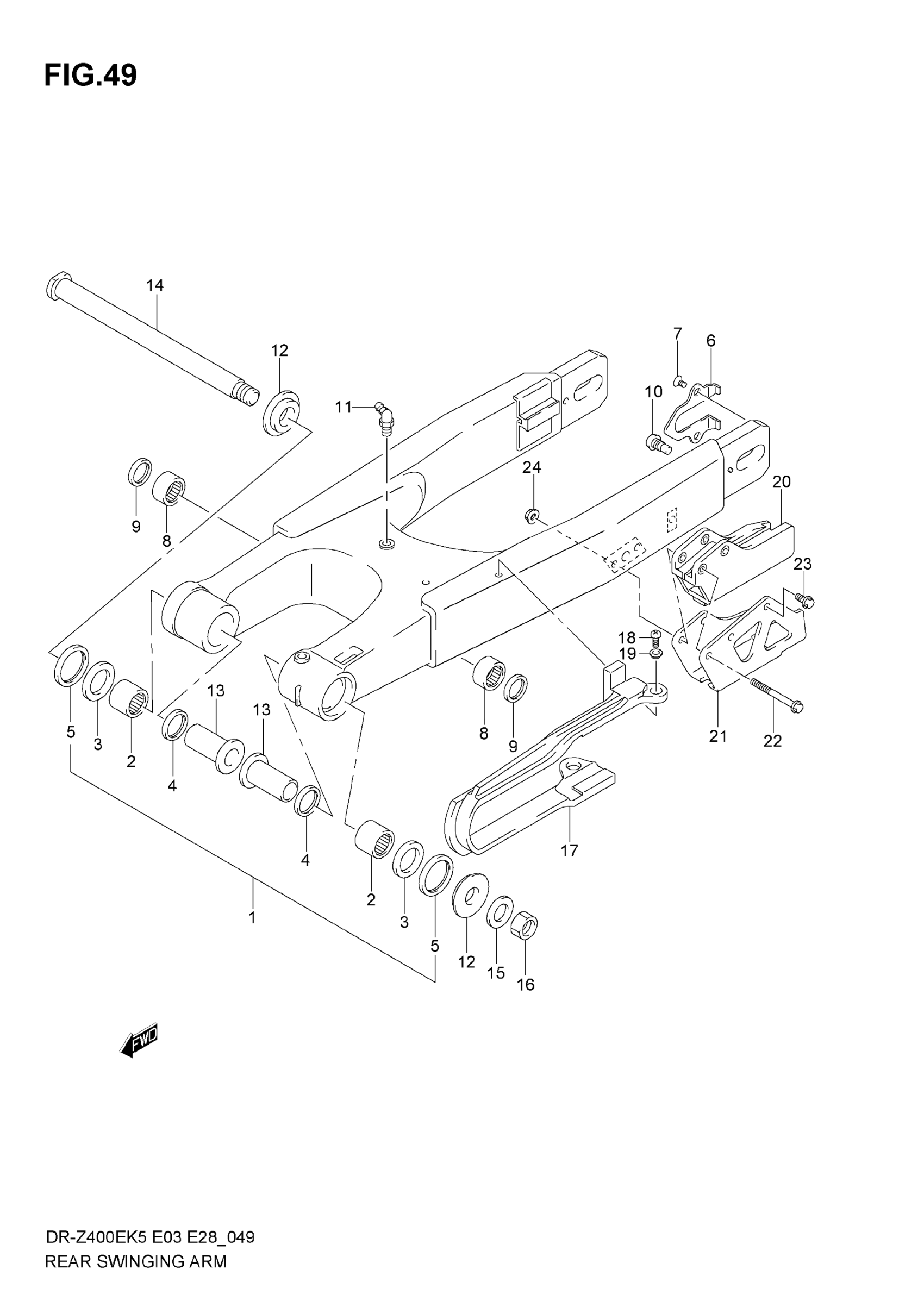
REAR SWINGING ARM
Suzuki DR-Z400E (2007) REAR SWINGING ARM Diagram
#
Description
Price
1
SWINGING ARM ASSY, REAR | Includes Item(s) 2 - 11
61000-29F00
Unavailable
