- Partiron
- OEM Parts
- Suzuki
- Motorcycle
- 2007
- DR-Z250 (2007)
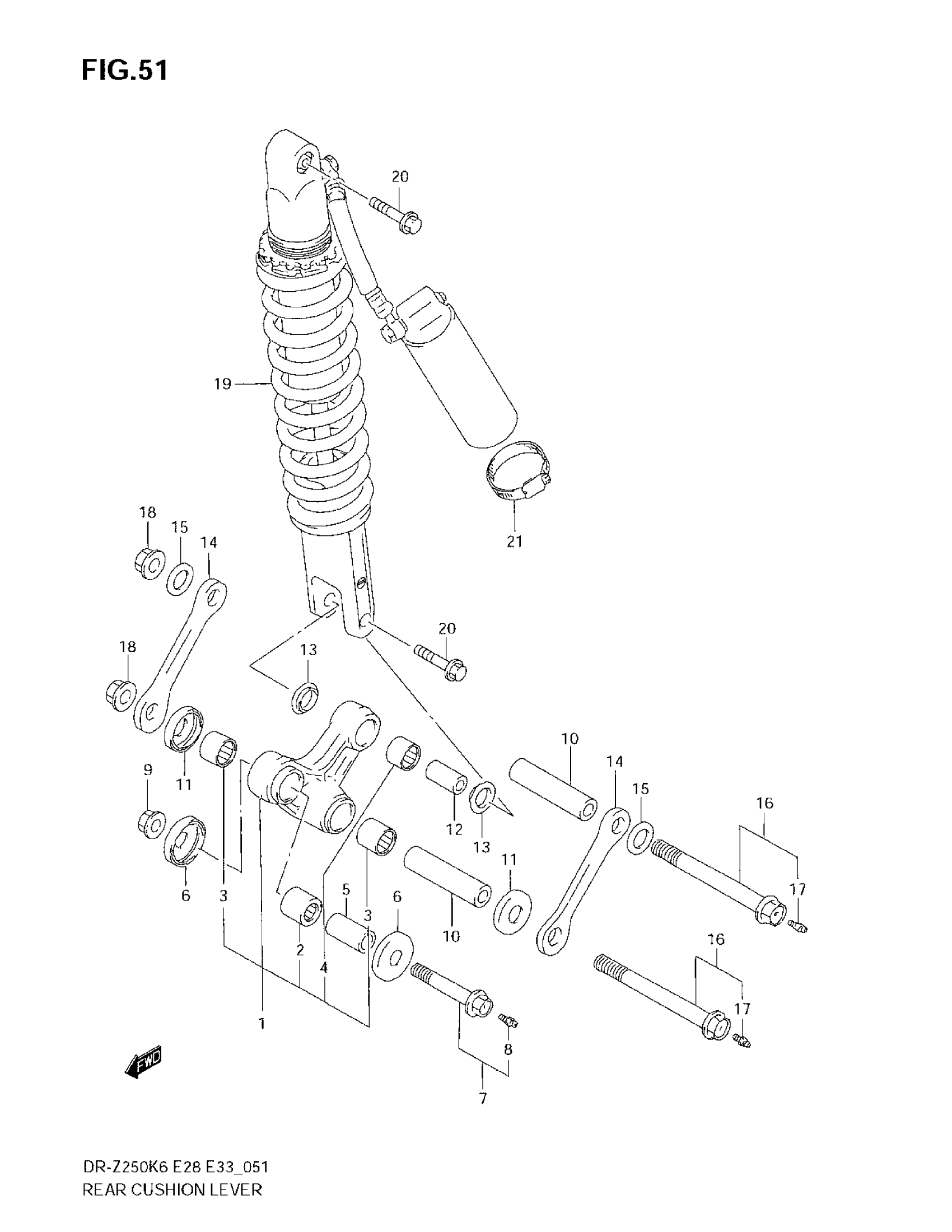
REAR CUSHION LEVER
Suzuki DR-Z250 (2007) REAR CUSHION LEVER Diagram
#
Description
Price
1
LEVER SET, REAR CUSHION | Includes Item(s) 2 - 4
62601-13840
Unavailable
7
BOLT, FRONT | Includes Item(s) 8
62650-05D00
Unavailable
16
BOLT, ROD | Includes Item(s) 17
62620-14D00
Unavailable
19
ABSORBER ASSY, RR SHOCK (RED) | E33
62100-13E70-YKS
Unavailable
19
ABSORBER ASSY, RR SHOCK (RED) | E28
62100-13E80-YKS
Unavailable
