- Partiron
- OEM Parts
- Suzuki
- Motorcycle
- 2007
- DR-Z250 (2007)
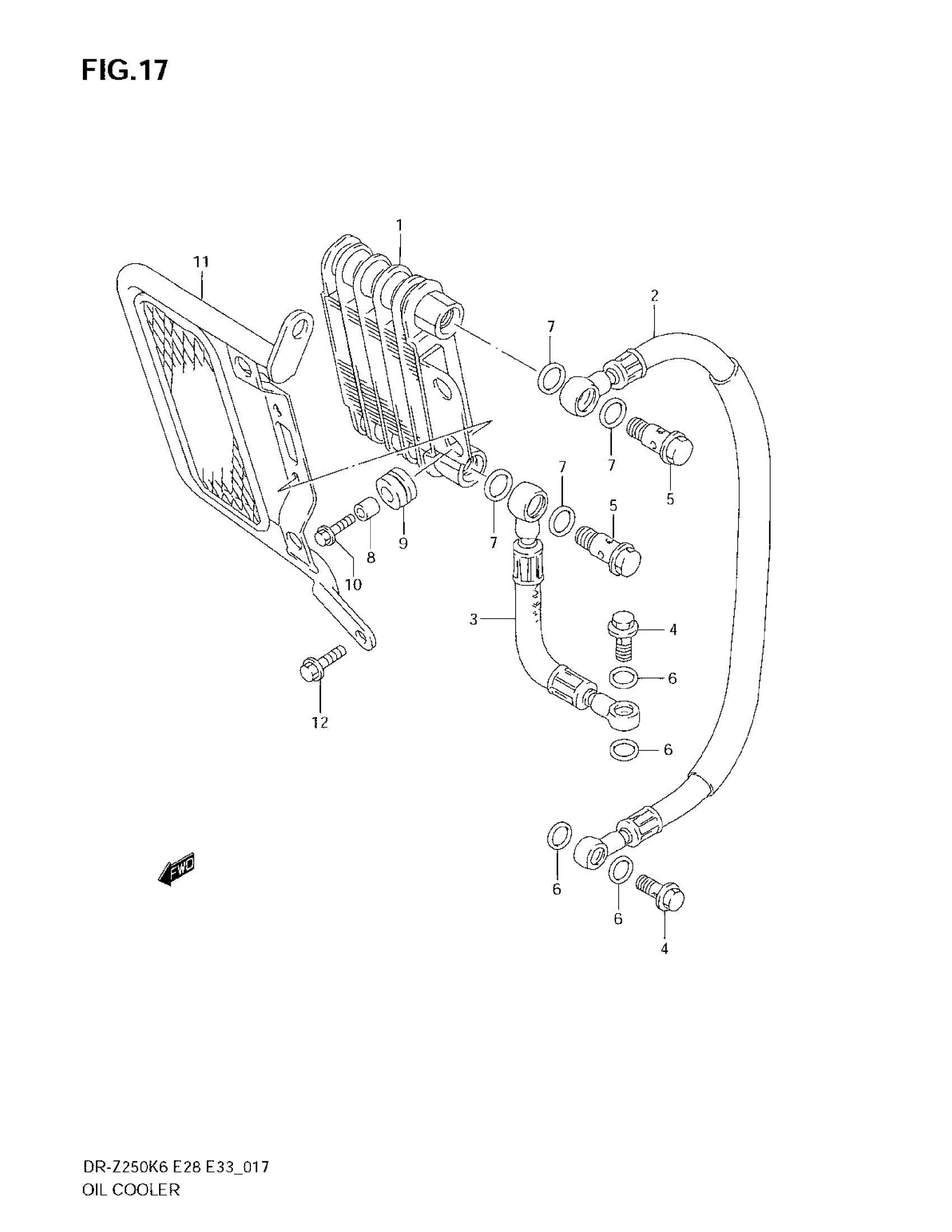
OIL COOLER
Suzuki DR-Z250 (2007) OIL COOLER Diagram
#
Description
Price
2
HOSE, OIL COOLER UPPER
16460-13E00
Unavailable
3
HOSE, OIL COOLER LOWER
16470-13E00
Unavailable
11
GUARD, OIL COOLER
16640-13E01
Unavailable
