- Partiron
- OEM Parts
- Suzuki
- Motorcycle
- 2025
- DR-Z125LM5 (2025)
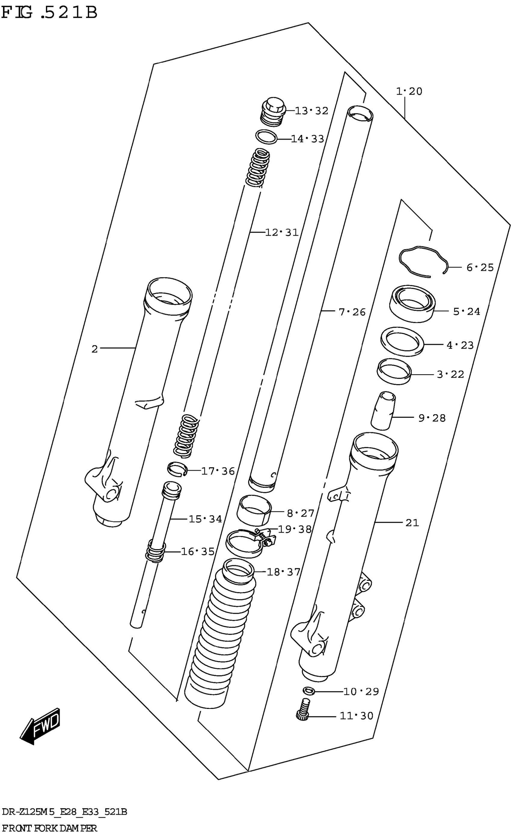
FRONT FORK DAMPER (DR-Z125L:E33)
Suzuki DR-Z125LM5 (2025) FRONT FORK DAMPER (DR-Z125L:E33) Diagram
#
Description
Price
2
.TUBE, OUTER RH
51130-08G10
Unavailable
7
.TUBE, INNER
51110-08G00
Unavailable
9
.PIECE, OIL LOCK
51195-48000
Unavailable
12
.SPRING, FR
51171-08G00
Unavailable
13
.BOLT
51351-48000
Unavailable
15
.CYLINDER
51146-08G00
Unavailable
16
.SPRING, REBOUND
51177-08G00
Unavailable
21
.TUBE, OUTER LH
51140-08G10
Unavailable
26
.TUBE, INNER
51110-08G00
Unavailable
28
.PIECE, OIL LOCK
51195-48000
Unavailable
31
.SPRING, FR
51171-08G00
Unavailable
32
.BOLT
51351-48000
Unavailable
34
.CYLINDER
51146-08G00
Unavailable
35
.SPRING, REBOUND
51177-08G00
Unavailable
