- Partiron
- OEM Parts
- Suzuki
- Motorcycle
- 2018
- DR-Z125L8 (2018)
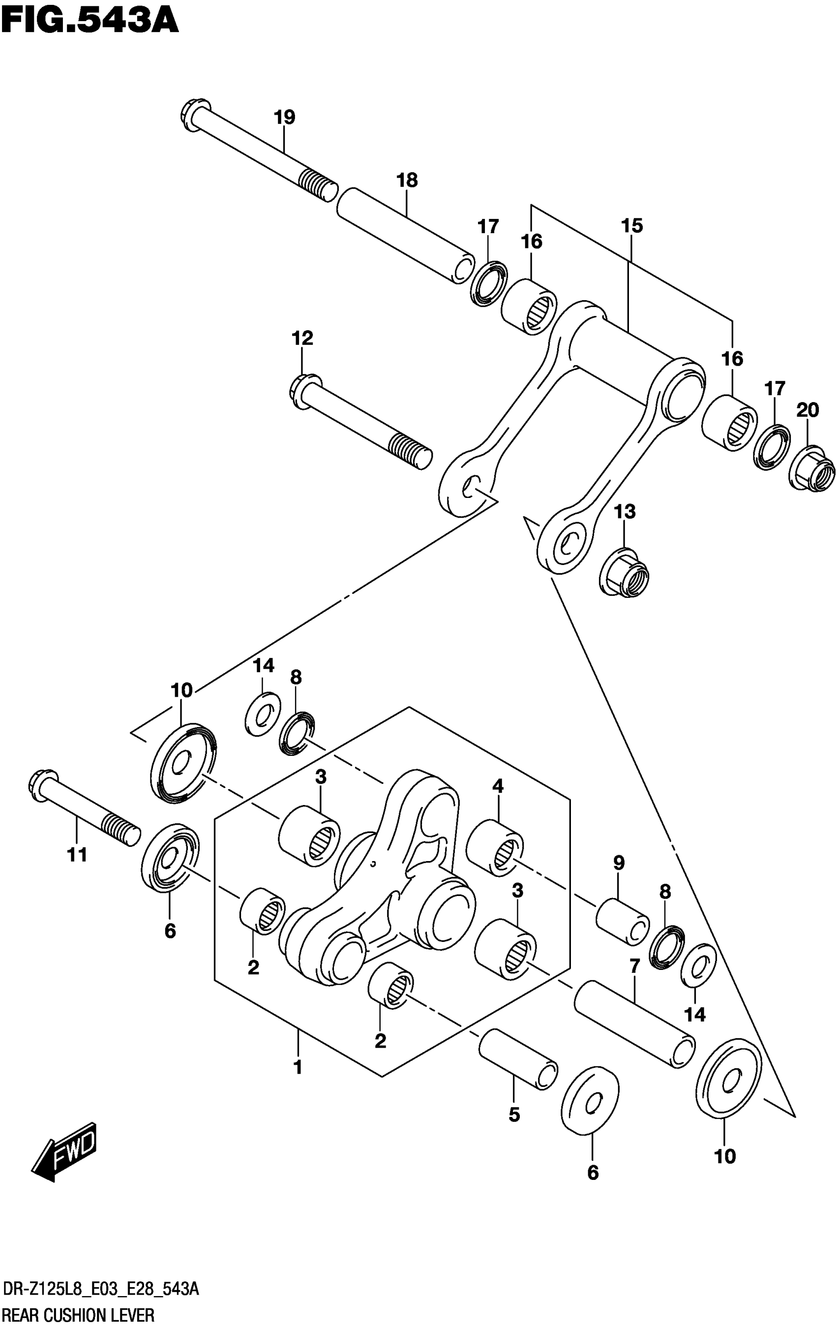
REAR CUSHION LEVER
Suzuki DR-Z125L8 (2018) REAR CUSHION LEVER Diagram
#
Description
Price
1
LEVER SET, RR CUSHION
62600-08820
Unavailable
11
BOLT, RR CUSHION LEVER FR
62658-02B50
Unavailable
12
BOLT, RR CUSHION LEVER CTR
62621-08G00
Unavailable
15
ROD SET, RR CUSHION
62600-08830
Unavailable
