Partiron

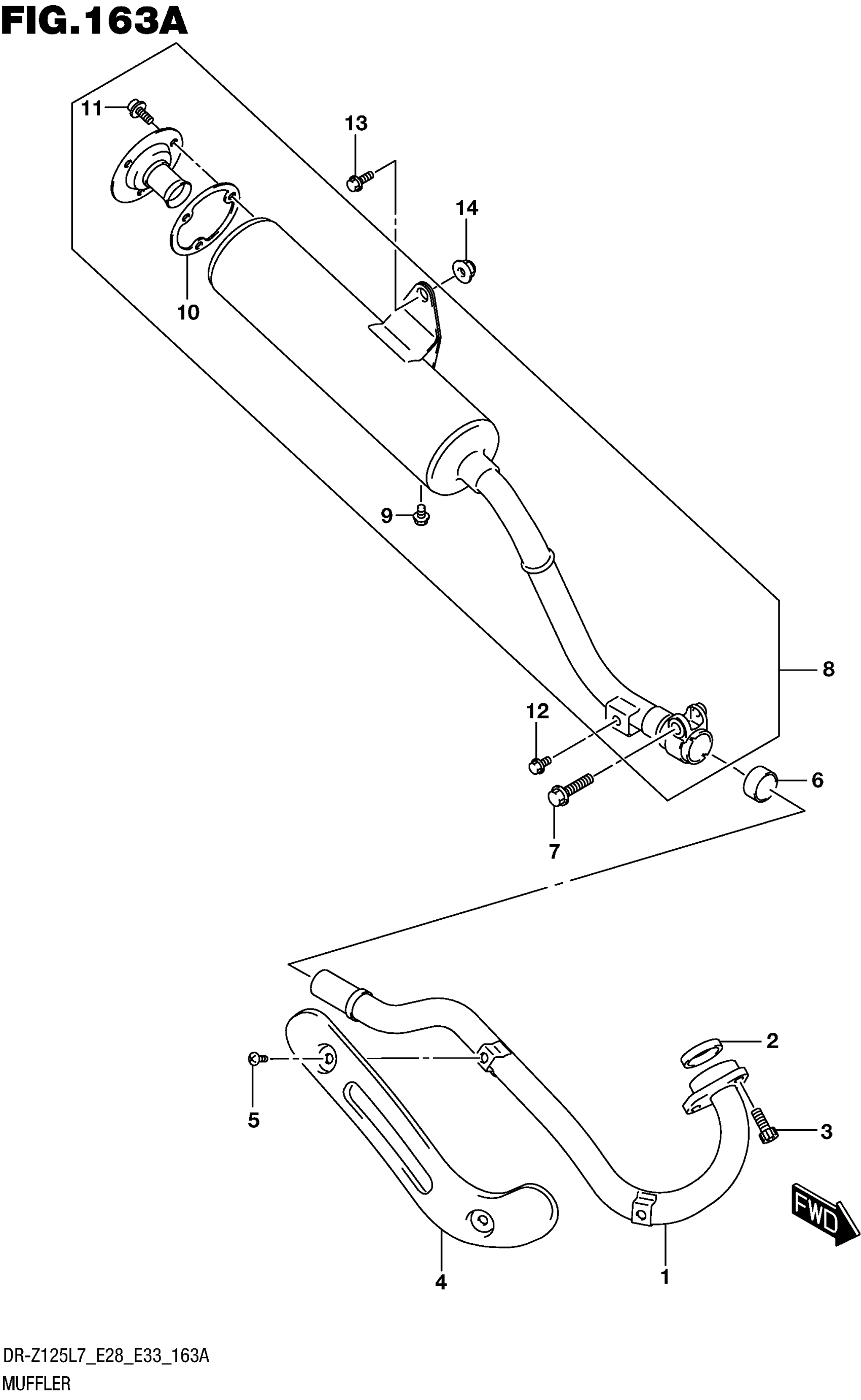
Suzuki DR-Z125L7 (2017) MUFFLER Diagram

#

Description
Price

1

PIPE, EXHAUST

14150-08G00

$104.18

2

.GASKET,EXHAUST This part replaces 14181-14D00.

14181-18C00

$7.22

3

BOLT

07130-0825A

$3.04

4

COVER, EXH PIPE

14180-08G10

$32.13

5

SCREW (6X10)

09139-06076

$2.42

6

.CONNECTOR, MUFFLER

14771-08G00

$19.38

7

BOLT

07120-0840A

$3.42

8

BODY, MUFFLER

14310-08G01

$196.93

9

.BOLT

07120-0610A

$2.30

10

.GASKET, ARRESTER

14773-08G00

$6.05

11

.BOLT

07120-0610A

$2.30

12

BOLT (8X12)

01550-0812A

$2.32

13

BOLT (8X23)

09103-08247

$3.03

14

NUT

08319-3108A

$2.32