- Partiron
- OEM Parts
- Suzuki
- Motorcycle
- 2014
- DR-Z125L4 (2014)
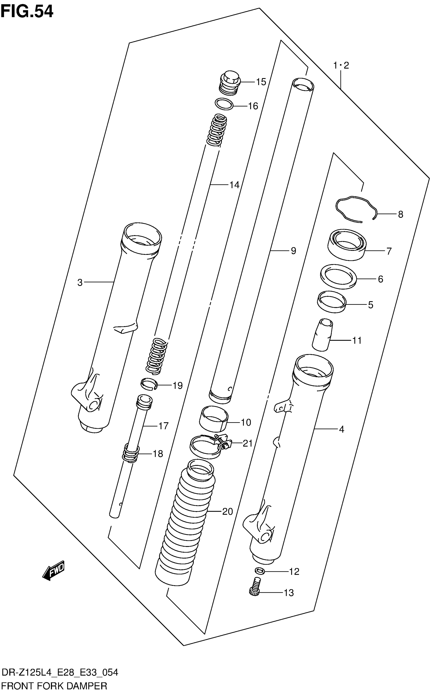
FRONT FORK DAMPER (DR-Z125L4 E28)
Suzuki DR-Z125L4 (2014) FRONT FORK DAMPER (DR-Z125L4 E28) Diagram
#
Description
Price
1
DAMPER ASSY, FR FORK RH
51103-08G40
Unavailable
2
DAMPER ASSY, FR FORK LH
51104-08G40
Unavailable
3
.TUBE, OUTER RH
51130-08G00
Unavailable
4
.TUBE, OUTER LH
51140-08G00
Unavailable
9
.TUBE, INNER
51110-08G00
Unavailable
11
.PIECE, OIL LOCK
51195-48000
Unavailable
14
.SPRING, FR
51171-08G00
Unavailable
15
.BOLT
51351-48000
Unavailable
17
CYLINDER
51146-08G00
Unavailable
18
.SPRING, REBOUND
51177-08G00
Unavailable
