- Partiron
- OEM Parts
- Suzuki
- Motorcycle
- 2012
- DR-Z125L2 (2012)
STEERING STEM (DR-Z125L E28)
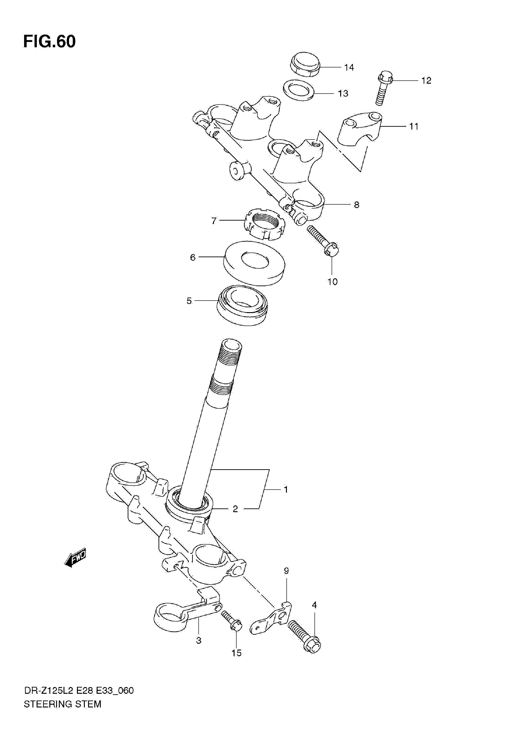
Suzuki DR-Z125L2 (2012) STEERING STEM (DR-Z125L E28) Diagram
#
Description
Price
1
STEM, STEERING
51410-08G00
Unavailable
4
BOLT
51328-08G00
Unavailable
8
BRACKET, UPR
51311-08G00
Unavailable
9
BRACKET, FR SIDE RR
35956-08G00
Unavailable
