Partiron

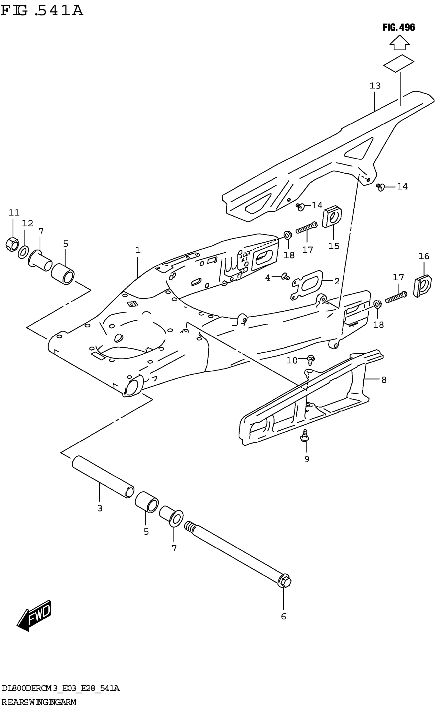
Suzuki DL800DERCM3 (2023) REAR SWINGINGARM Diagram

#

Description
Price

1

SWINGINGARM,REAR

61100-25LA0

$979.48

2

PLATE,RR SWGARM BRKT

61124-44G00

$6.53

3

SPACER,RR SWGARM PIVOT CTR

61282-25L00

$25.98

4

SCREW

09122-66010

$1.53

5

BEARING (25X33X35)

09263-25073

$30.93

6

SHAFT,RR SWINGINGARM PIVOT

61211-31E00

$128.72

7

SPACER,PIVOT BEARING

61251-31E00

$59.25

8

BUFFER,CHAIN TOUCH DEFENSE

61273-25LB0

$57.63

9

BOLT (6X17.8)

09111-06072

$2.03

10

BOLT (6X16)

09116-06205

$2.63

11

NUT

09159-18007

$19.68

12

WASHER (18.5X28X2.6)

09160-18030

$2.56

13

CASE,CHAIN

61310-25L00

$65.05

14

BOLT (6X12)

09139-06225

$2.92

15

WASHER,CHAIN ADJUSTER RH

61445-28H11

$48.67

16

WASHER,CHAIN ADJUSTER LH

61446-35G01

$36.60

17

BOLT (8X50)

09100-08287

$3.10

18

NUT

08316-1008A

$2.45