- Partiron
- OEM Parts
- Suzuki
- Motorcycle
- 2015
- DL650XAL5 (2015)
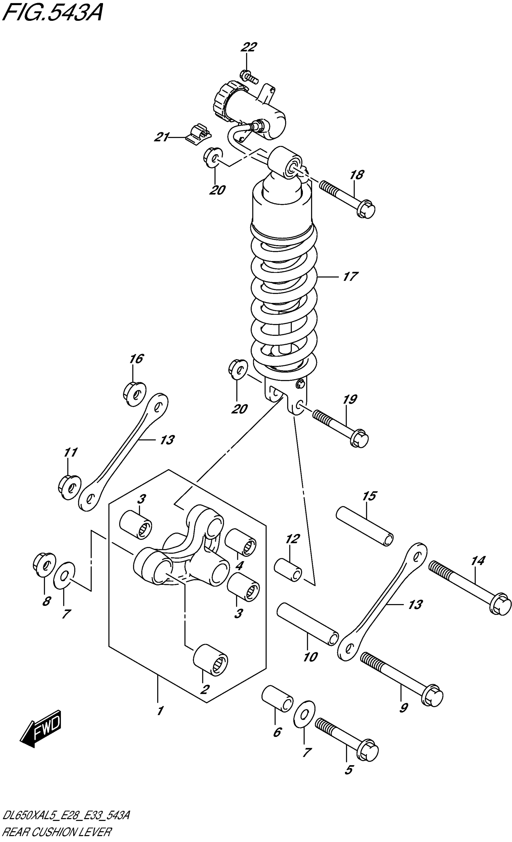
REAR CUSHION LEVER
Suzuki DL650XAL5 (2015) REAR CUSHION LEVER Diagram
#
Description
Price
21
CLAMP
09403-10313
Unavailable
REAR CUSHION LEVER
#
21
09403-10313
Unavailable
Edit ride
