- Partiron
- OEM Parts
- Suzuki
- Motorcycle
- 2015
- DL650XAL5 (2015)
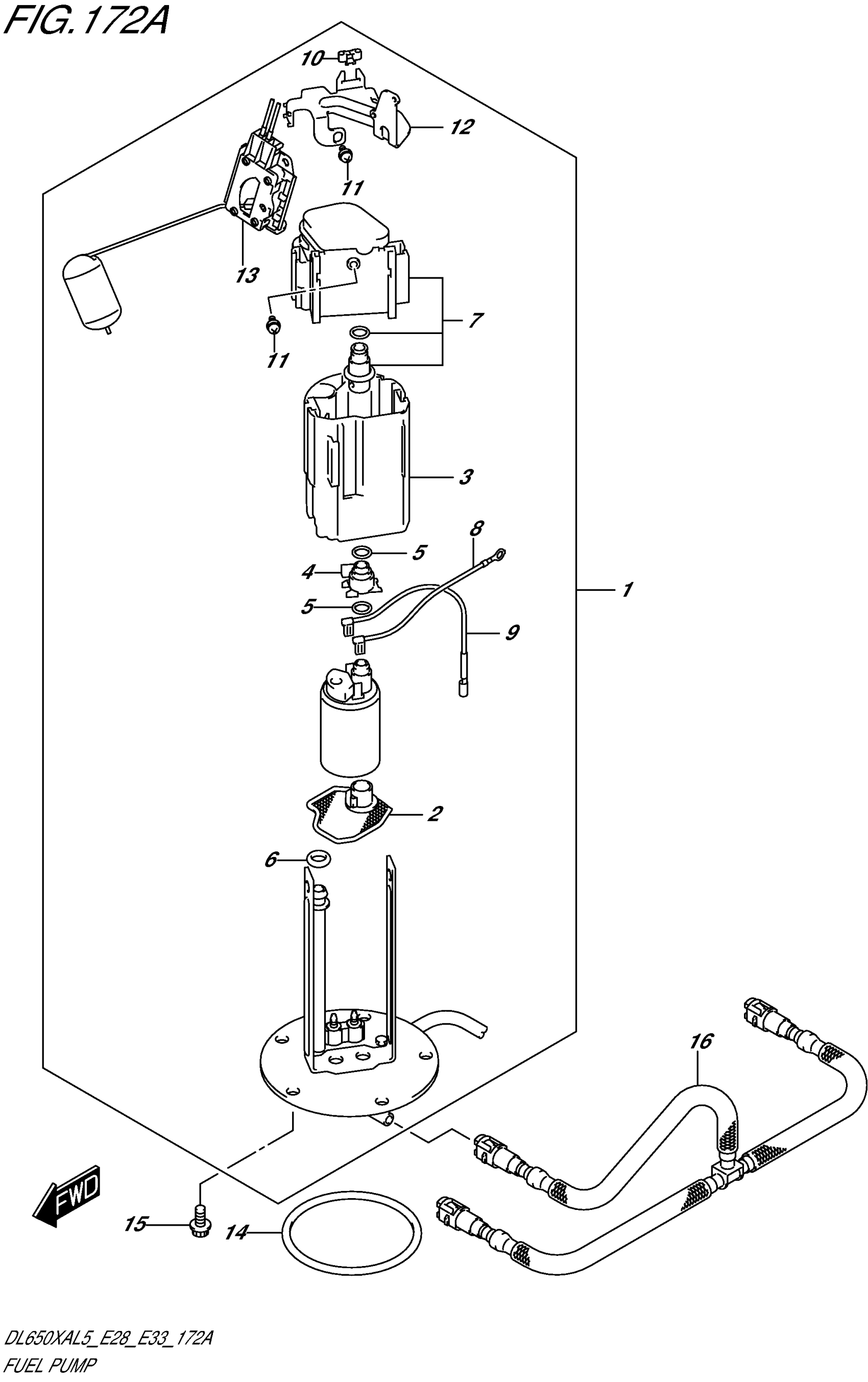
FUEL PUMP
Suzuki DL650XAL5 (2015) FUEL PUMP Diagram
#
Description
Price
8
WIPE, EARTH
15114-14J00
Unavailable
9
WIRE, LEAD
15115-14J00
Unavailable
10
SADDLE, EDGE
15119-08J00
Unavailable
12
BRACKET, FUEL GAUGE
15181-11J00
Unavailable
