- Partiron
- OEM Parts
- Suzuki
- Motorcycle
- 2023
- DL650AM3 (2023)
HANDLE LEVER (DL650AM3E33)
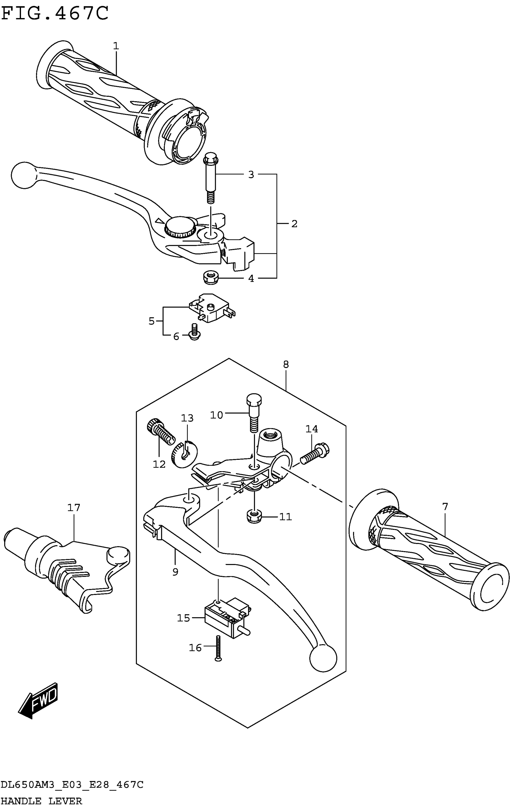
Suzuki DL650AM3 (2023) HANDLE LEVER (DL650AM3E33) Diagram
#
Description
Price
HANDLE LEVER (DL650AM3E33)
#
Edit ride
