- Partiron
- OEM Parts
- Suzuki
- Motorcycle
- 2022
- DL650AM2 (2022)
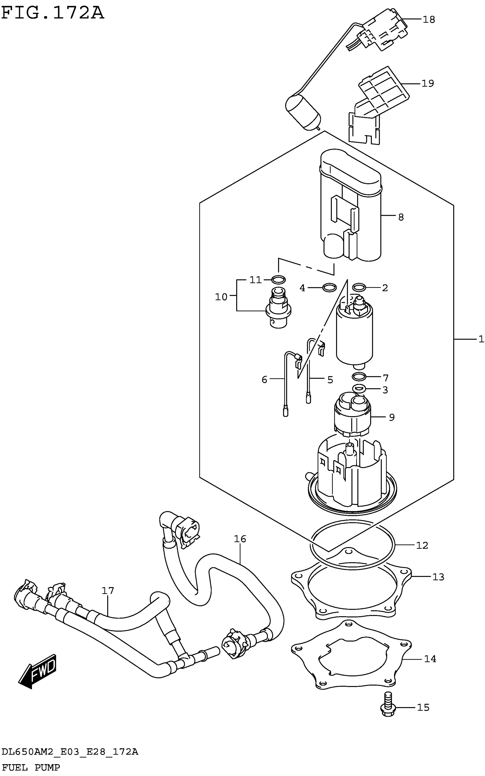
FUEL PUMP
Suzuki DL650AM2 (2022) FUEL PUMP Diagram
#
Description
Price
10
.REGULATOR
15610-17K00
Unavailable
FUEL PUMP
#
10
15610-17K00
Unavailable
Edit ride
