Partiron

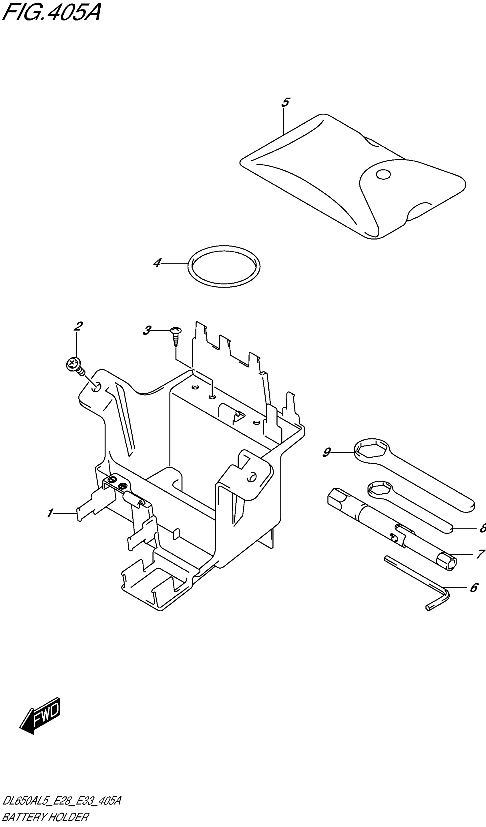
Suzuki DL650AL5 (2015) BATTERY HOLDER Diagram

#

Description
Price

1

HOLDER, BATTERY

47431-27GA0

Unavailable

2

BOLT (6X12)

09111-06107

$2.60

3

SCREW (5X16)

09132-05053

$2.28

4

O RING(D:3.5,ID This part replaces 09280-63003.

09280-61004

$2.60

5

TOOL ASSY This part replaces 09800-21055.

09800-21102

$20.21

6

HEXAGON SPANNER, 5

09816-00059

$8.45

7

SPANNER (16)

09816-00149

$33.07

8

SPANNER (22)

09817-00035

$5.67

9

SPANNER (24)

09817-00039

Unavailable