- Partiron
- OEM Parts
- Suzuki
- Motorcycle
- 2014
- DL650AL4 (2014)
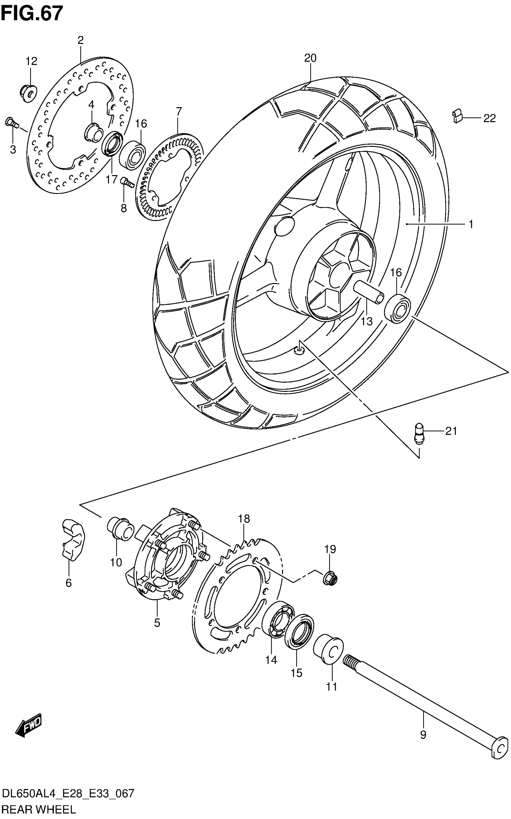
REAR WHEEL
Suzuki DL650AL4 (2014) REAR WHEEL Diagram
#
Description
Price
1
WHEEL, REAR (17M/CXMT4.00) (BLACK)
64111-06G20-019
Unavailable
