- Partiron
- OEM Parts
- Suzuki
- Motorcycle
- 2014
- DL650AL4 (2014)
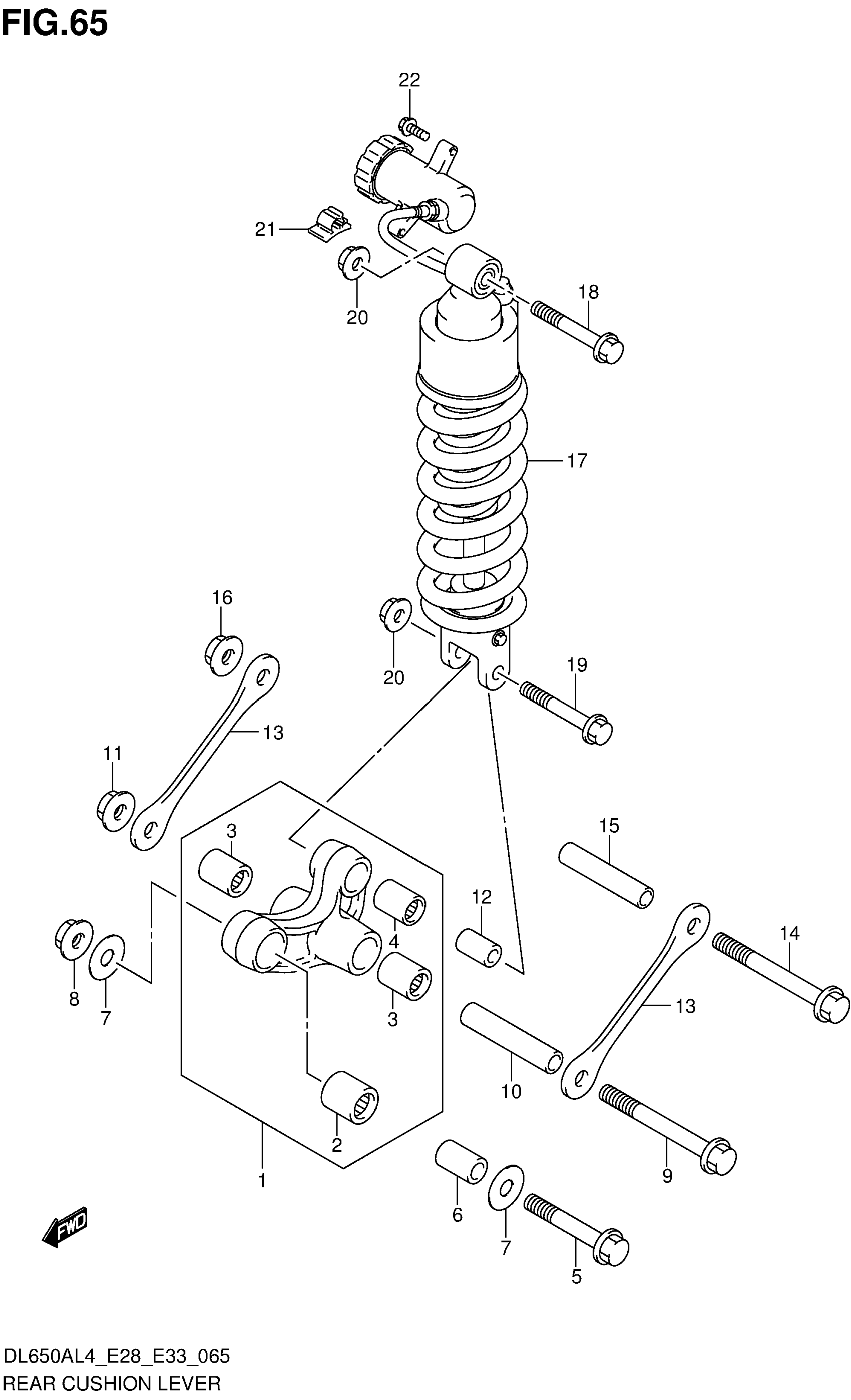
REAR CUSHION LEVER (DL650AL4 E28)
Suzuki DL650AL4 (2014) REAR CUSHION LEVER (DL650AL4 E28) Diagram
#
Description
Price
21
CLAMP
09403-10313
Unavailable
