- Partiron
- OEM Parts
- Suzuki
- Motorcycle
- 2014
- DL650AL4 (2014)
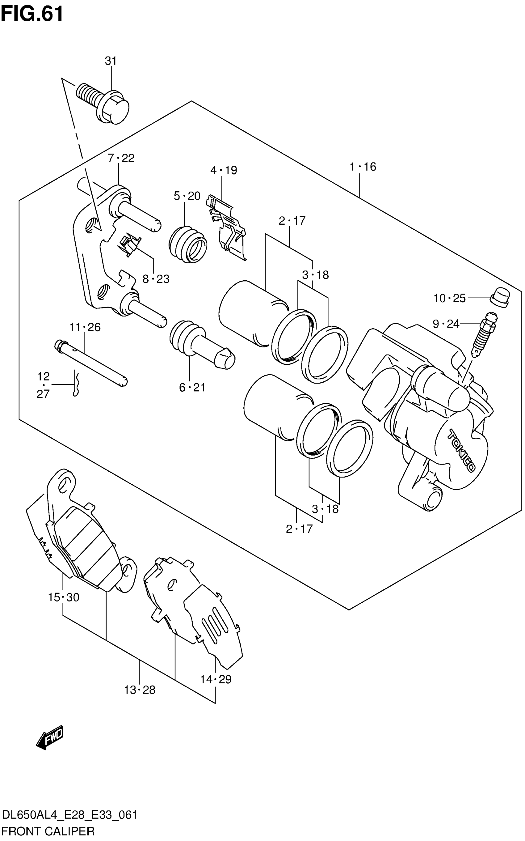
FRONT CALIPER
Suzuki DL650AL4 (2014) FRONT CALIPER Diagram
#
Description
Price
1
CALIPER ASSY, FRONT RH This part replaces 59100-33DF1-999.
59100-33DJ0-999
Unavailable
16
CALIPER ASSY, FRONT LH This part replaces 59300-33DF1-999.
59300-33DJ0-999
Unavailable
