- Partiron
- OEM Parts
- Suzuki
- Motorcycle
- 2024
- DL1050RJM4 (2024)
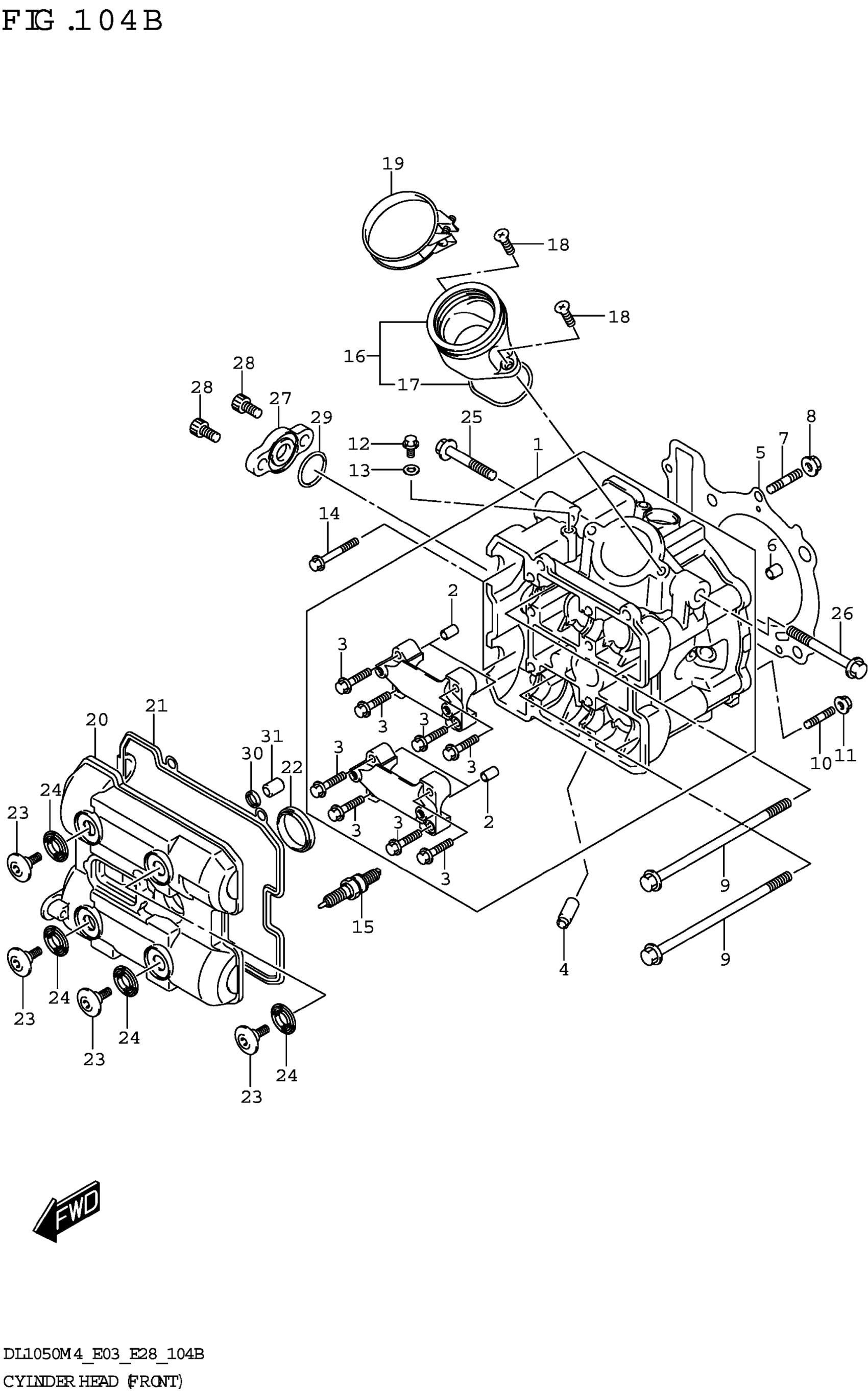
CYLINDER HEAD (FRONT) (DL1050RJ)
Suzuki DL1050RJM4 (2024) CYLINDER HEAD (FRONT) (DL1050RJ) Diagram
#
Description
Price
25
BOLT,ENG MTG HEAD FRONT RH
01550-1085B
Unavailable
