- Partiron
- OEM Parts
- Suzuki
- Motorcycle
- 2023
- DL1050RJM3 (2023)
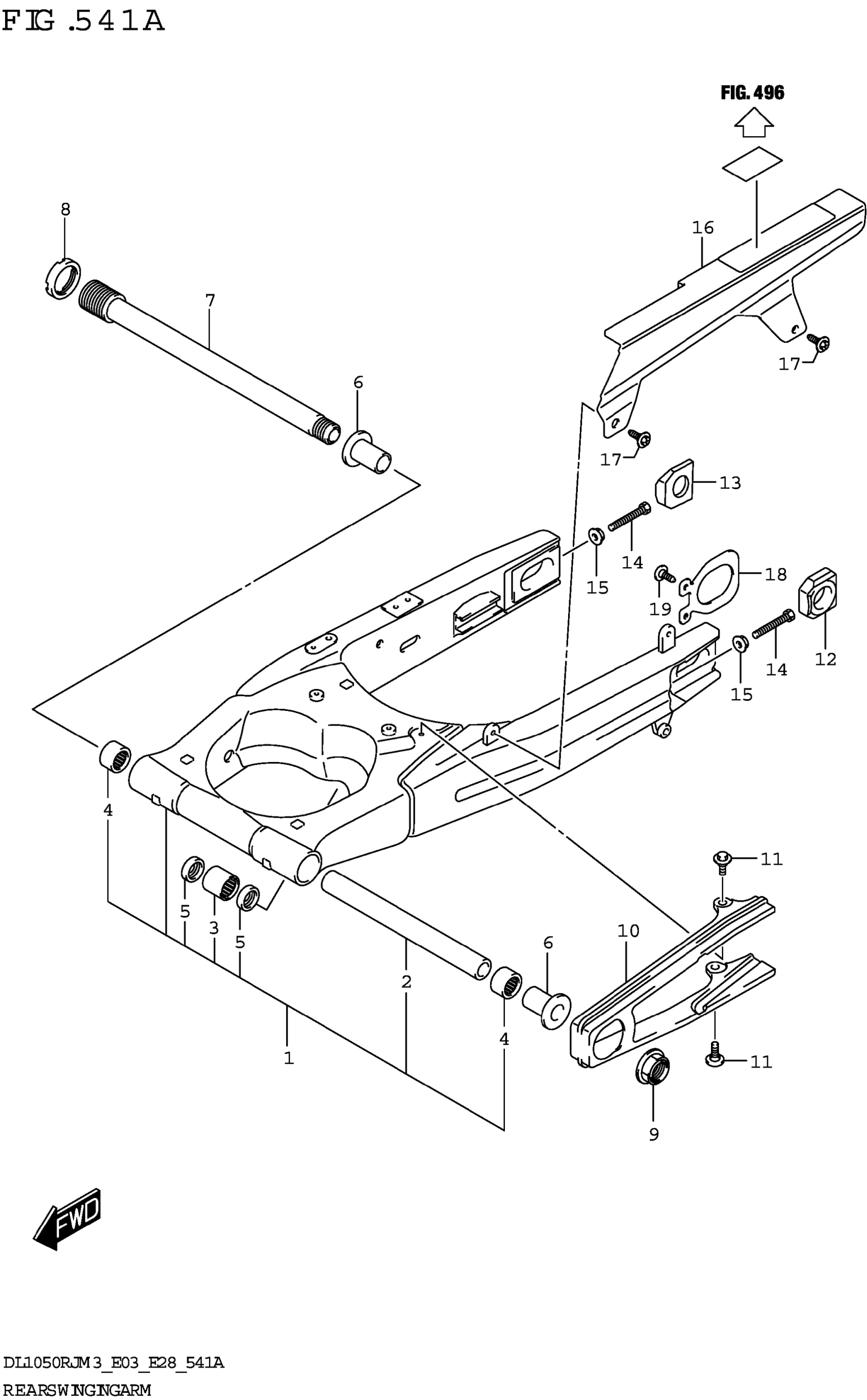
REAR SWINGINGARM (DL1050RJ)
Suzuki DL1050RJM3 (2023) REAR SWINGINGARM (DL1050RJ) Diagram
#
Description
Price
2
.SPACER,RR SWGARM PIVOT CTR ( | 0.8X27.2X196.7)
61281-31J00
Unavailable
7
SHAFT,RR SWGARM PIVOT
61211-31J00
Unavailable
