- Partiron
- OEM Parts
- Suzuki
- Motorcycle
- 2023
- DL1050RJM3 (2023)
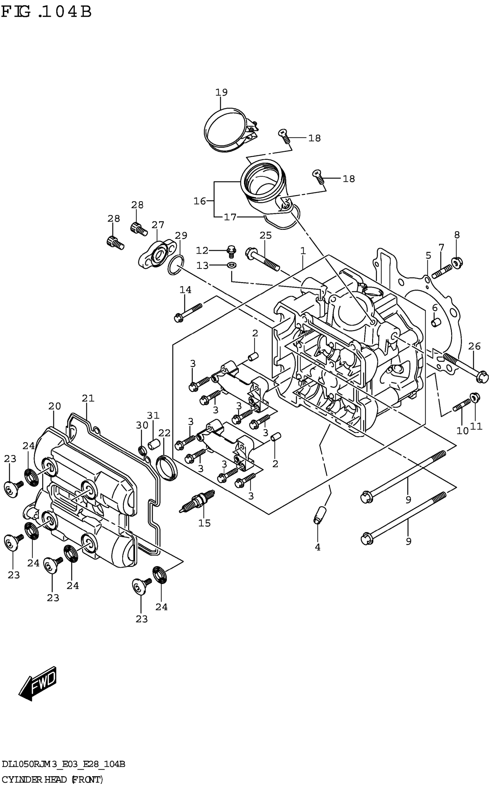
CYLINDER HEAD (FRONT) (DL1050RR)
Suzuki DL1050RJM3 (2023) CYLINDER HEAD (FRONT) (DL1050RR) Diagram
#
Description
Price
CYLINDER HEAD (FRONT) (DL1050RR)
#
Edit ride
