Partiron

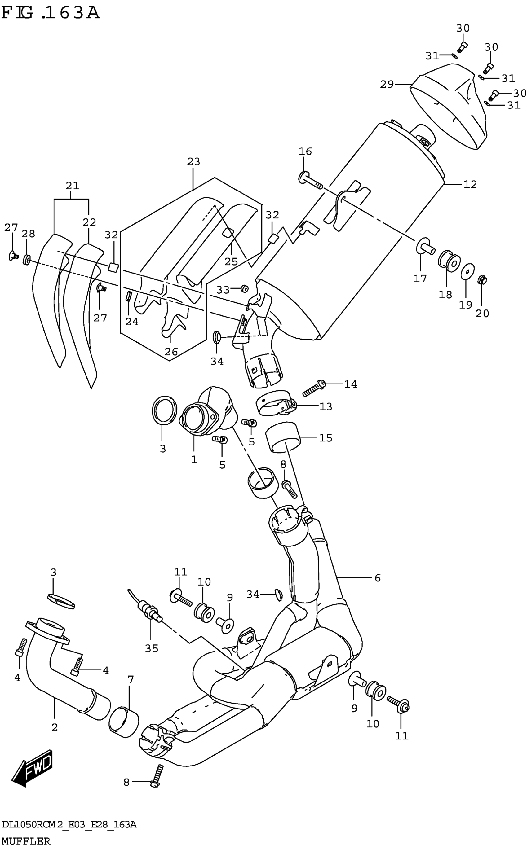
Suzuki DL1050RCM2 (2022) MUFFLER Diagram

#

Description
Price

1

PIPE,EXH RR

14150-06L00

$163.20

2

PIPE,EXH FR

14160-06L00

$105.65

3

.GASKET,EXH PIPE

14181-31D00

$10.28

4

BOLT (8X25)

09106-08178

$3.24

5

BOLT

07130-0825A

$3.04

6

PIPE,EXH CTR

14205-06L00

$1,296.42

7

CONNECTOR,JT

14771-42F50

$20.57

8

BOLT (8X35)

09106-08197

$4.18

9

SPACER (8.6X12X24.2)

09180-08152

$5.83

10

CUSHION (12X30X24)

09320-12077

$11.78

11

BOLT

09116-08176

$7.27

12

BODY,MUFFLER

14310-06L00-H01

$637.72

13

CLAMP,MUF CONN

14459-31J10

$29.67

14

BOLT (8X40)

09106-08162

$4.77

15

CONNECTOR,MUF

14771-18H00

$30.60

16

BOLT (8X45)

09106-08195

$6.17

17

SPACER (8.6X12X25.5)

09180-08156

$6.70

18

CUSHION

09320-12049

$10.68

19

WASHER (8.5X33X1.6)

09160-08162

$1.87

20

NUT

08316-1008B

$2.66

21

COVER,MUF FR

14760-06L00

$47.40

22

.SHIELD,MUF COV FR HEAT NO.1

14762-06L00

$7.77

23

COVER,MUF

14780-06L00

$287.22

24

CUSHION (8.4X18X6)

09320-08066

$8.24

25

.SHIELD,MUF COV HEAT

14784-06L00

$8.65

26

.SHIELD,MUF COV HEAT NO.2

14785-06L00

$4.87

27

SCREW (6X12)

09139-06128

$5.67

28

CUSHION (8.4X18X6)

09320-08066

$8.24

29

COVER,MUF RR

14791-06L01

$96.38

30

BOLT (6X15)

09106-06078

$3.37

31

WASHER (7X12X1.0)

09160-06055

$1.62

32

GROMMET

14795-10FA0

$5.58

33

CUSHION (4X12X8)

09320-04013

$1.85

34

CUSHION

09321-10018

$5.45

35

SENSOR,OXYGEN

18213-04K00

$315.67