- Partiron
- OEM Parts
- Suzuki
- Motorcycle
- 2022
- DL1050RCM2 (2022)
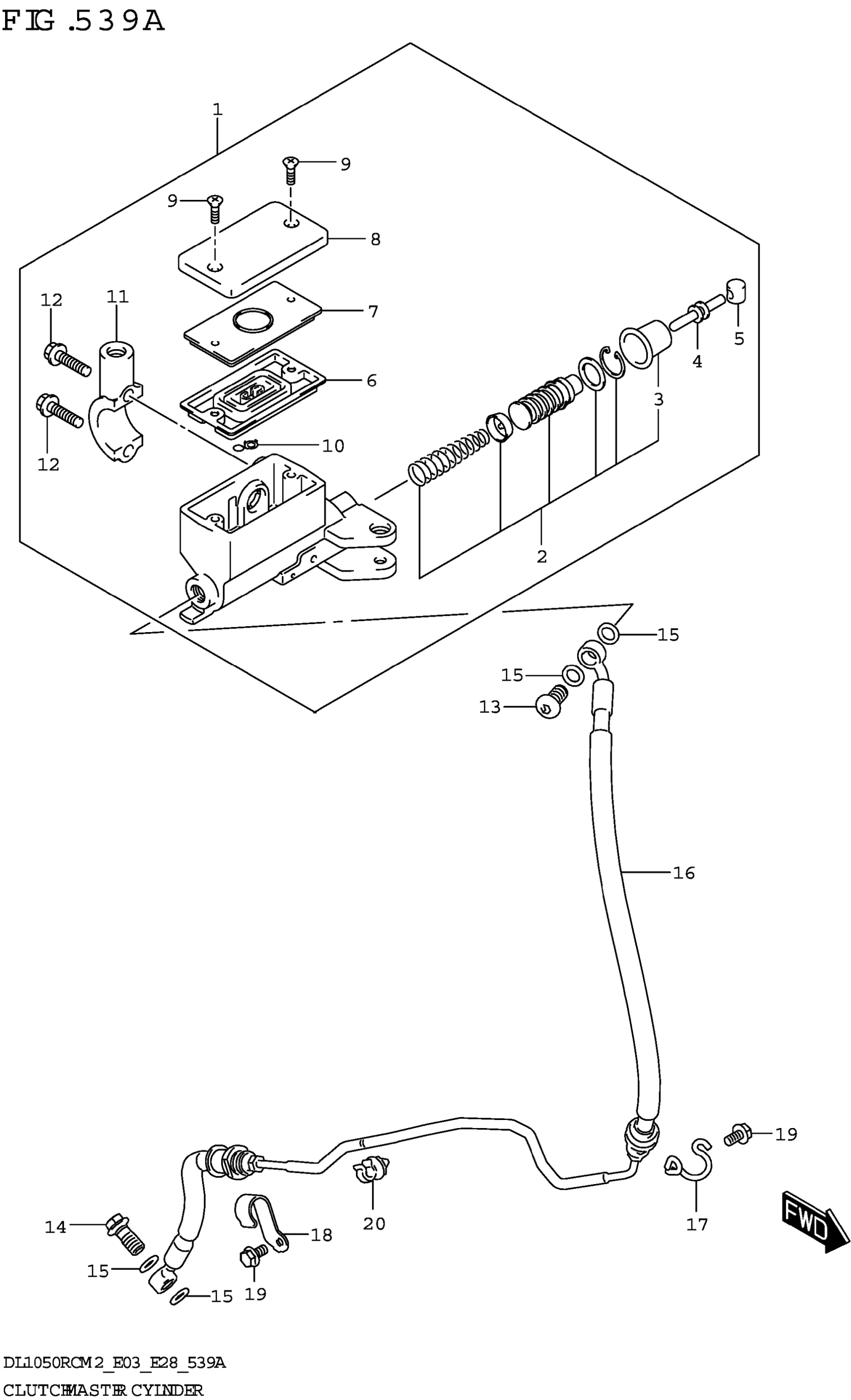
CLUTCH MASTER CYLINDER
Suzuki DL1050RCM2 (2022) CLUTCH MASTER CYLINDER Diagram
#
Description
Price
4
.ROD,PUSH
59871-23H10
Unavailable
