Partiron

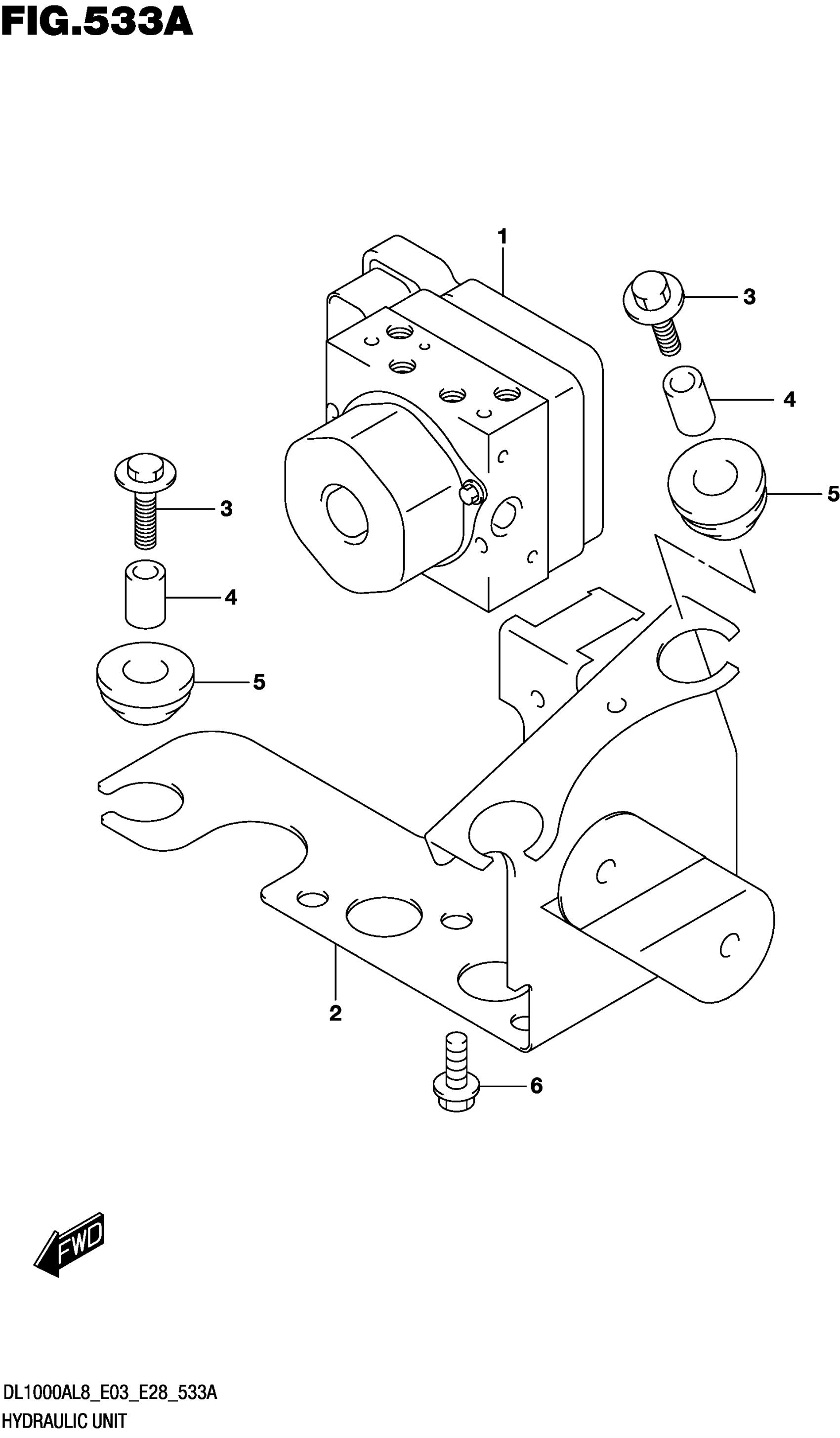
Suzuki DL1000AL8 (2018) HYDRAULIC UNIT Diagram

#

Description
Price

1

UNIT ASSY, HYDRAULIC ABS

55610-31J10

$2,361.67

2

HOLDER, HYDRAULIC UNIT

55660-31J10

Unavailable

3

BOLT (6X25)

55661-10G00

Unavailable

4

SPACER, HYDRAULIC UNIT

55662-10G00

Unavailable

5

RUBBER

09320-10066

$4.82

6

BOLT

01550-0612A

$1.97