- Partiron
- OEM Parts
- Suzuki
- Motorcycle
- 2015
- DL1000AL5 (2015)
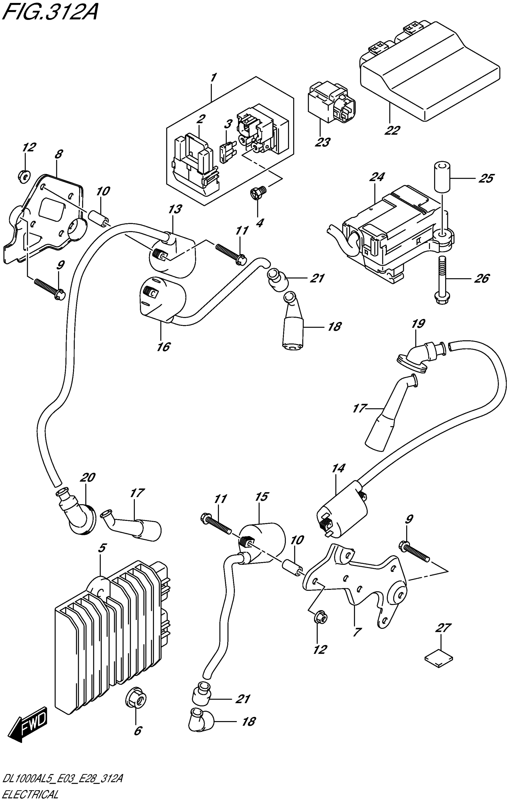
ELECTRICAL (DL1000AL5 E03)
Suzuki DL1000AL5 (2015) ELECTRICAL (DL1000AL5 E03) Diagram
#
Description
Price
7
BRACKET, IGNITION COIL
33414-31J00
Unavailable
8
BRACKET, IGNITION COIL
33424-31J00
Unavailable
15
COIL ASSY, IGNITION
33410-20H00
Unavailable
26
BOLT (6X55)
09116-06183
Unavailable
