- Partiron
- OEM Parts
- Suzuki
- Motorcycle
- 2009
- DL1000 (2009)
ELECTRICAL
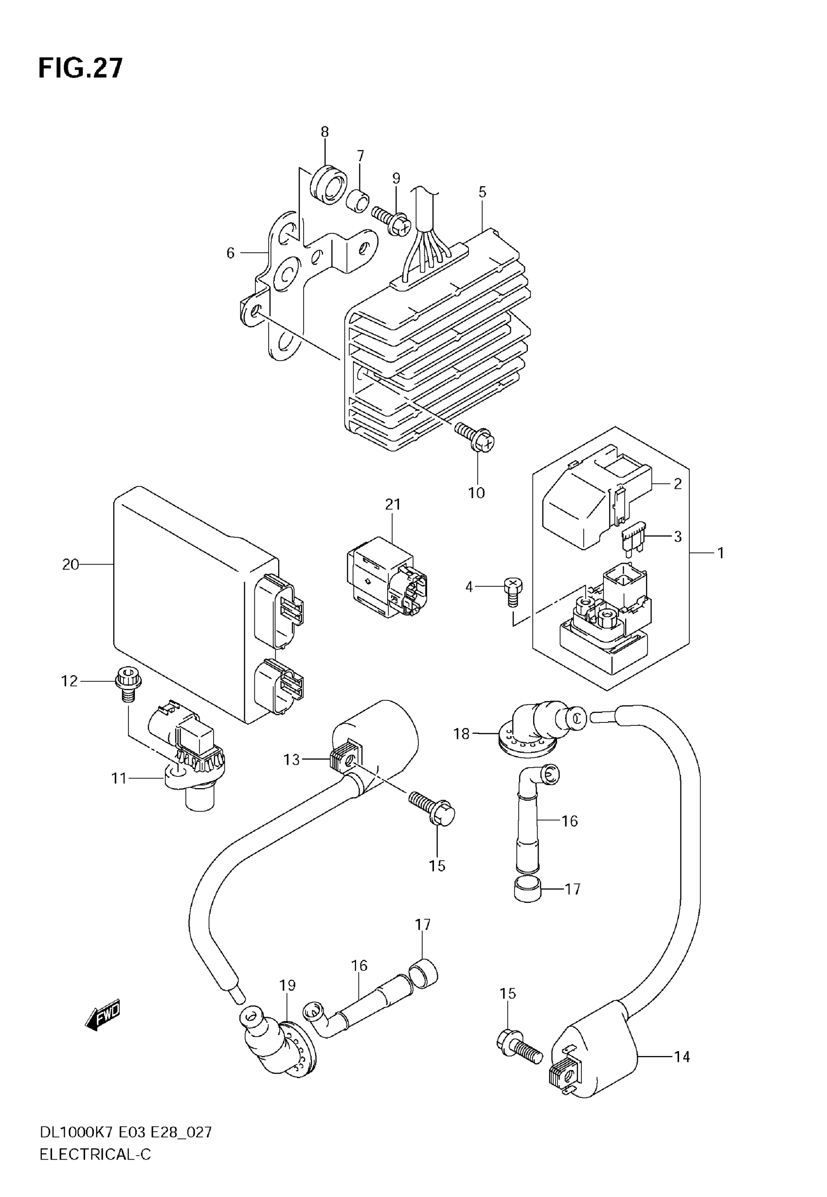
Suzuki DL1000 (2009) ELECTRICAL Diagram
#
Description
Price
1
RELAY ASSY,STARTING MOTOR | Includes Item(s) 2 - 3 This part replaces 31800-06G00.
31800-06G02
$67.32
6
BRACKET, RECTIFIER
32831-06G10
Unavailable
