- Partiron
- OEM Parts
- Suzuki
- Motorcycle
- 2006
- DL1000 (2006)
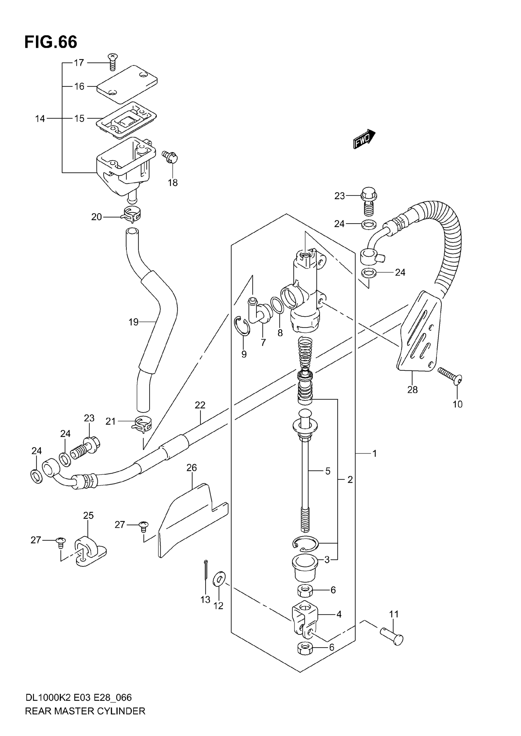
REAR MASTER CYLINDER
Suzuki DL1000 (2006) REAR MASTER CYLINDER Diagram
#
Description
Price
28
COVER, RR MASTER CYLINDER
69641-06G00
Unavailable
