- Partiron
- OEM Parts
- Suzuki
- Motorcycle
- 2006
- DL1000 (2006)
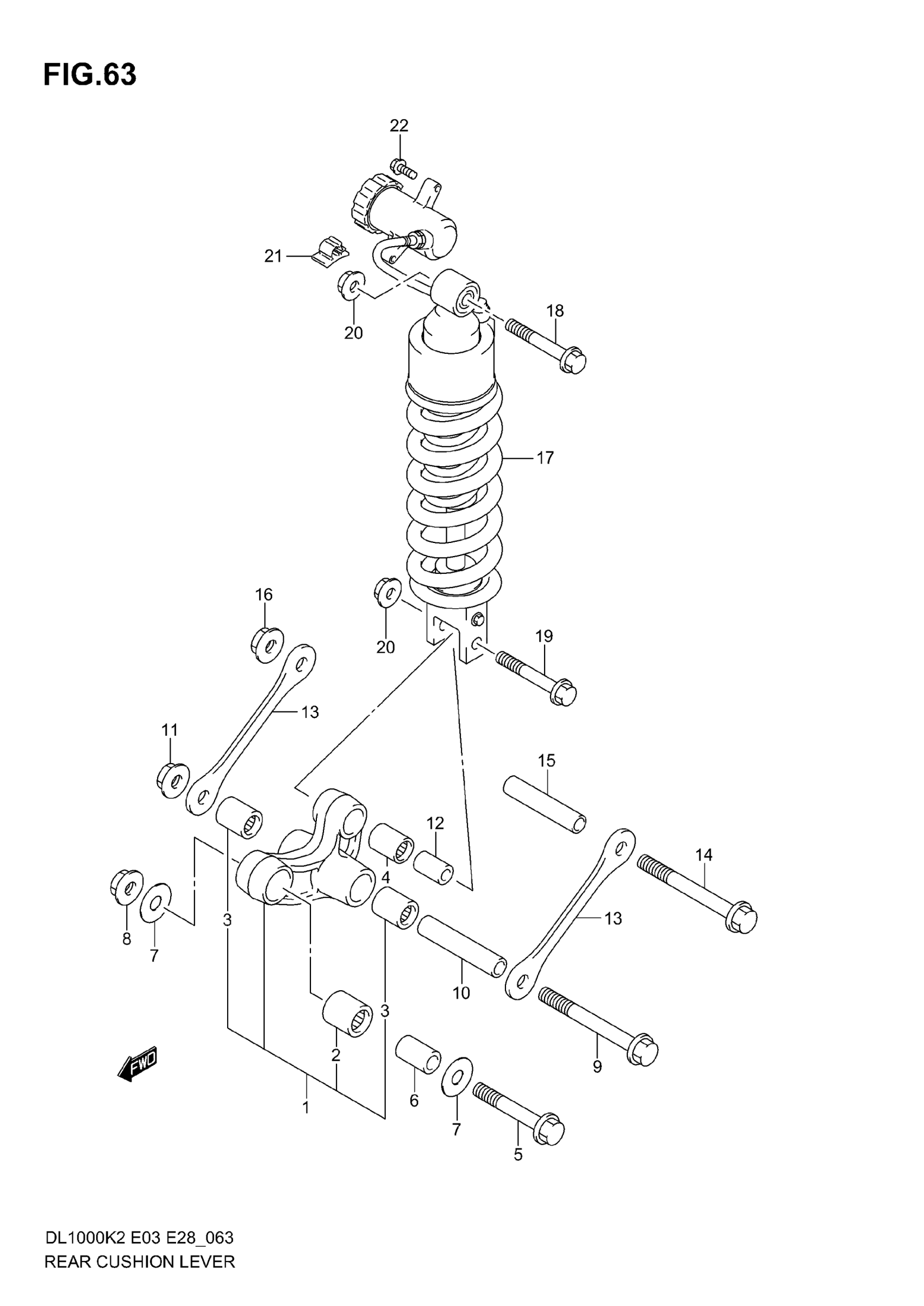
REAR CUSHION LEVER
Suzuki DL1000 (2006) REAR CUSHION LEVER Diagram
#
Description
Price
1
LEVER SET, RR CUSHION | Includes Item(s) 2 - 4 This part replaces 62600-06860.
62600-06872
$367.22
17
ABSORBER ASSY, REAR SHOCK (SILVER) | E28
62100-06G10-13L
Unavailable
17
ABSORBER ASSY, REAR SHOCK (SILVER) | E3,E33
62100-06G20-13L
Unavailable
21
CLAMP, ADJUSTER HOSE
09403-10313
Unavailable
