- Partiron
- OEM Parts
- Suzuki
- Motorcycle
- 2006
- DL1000 (2006)
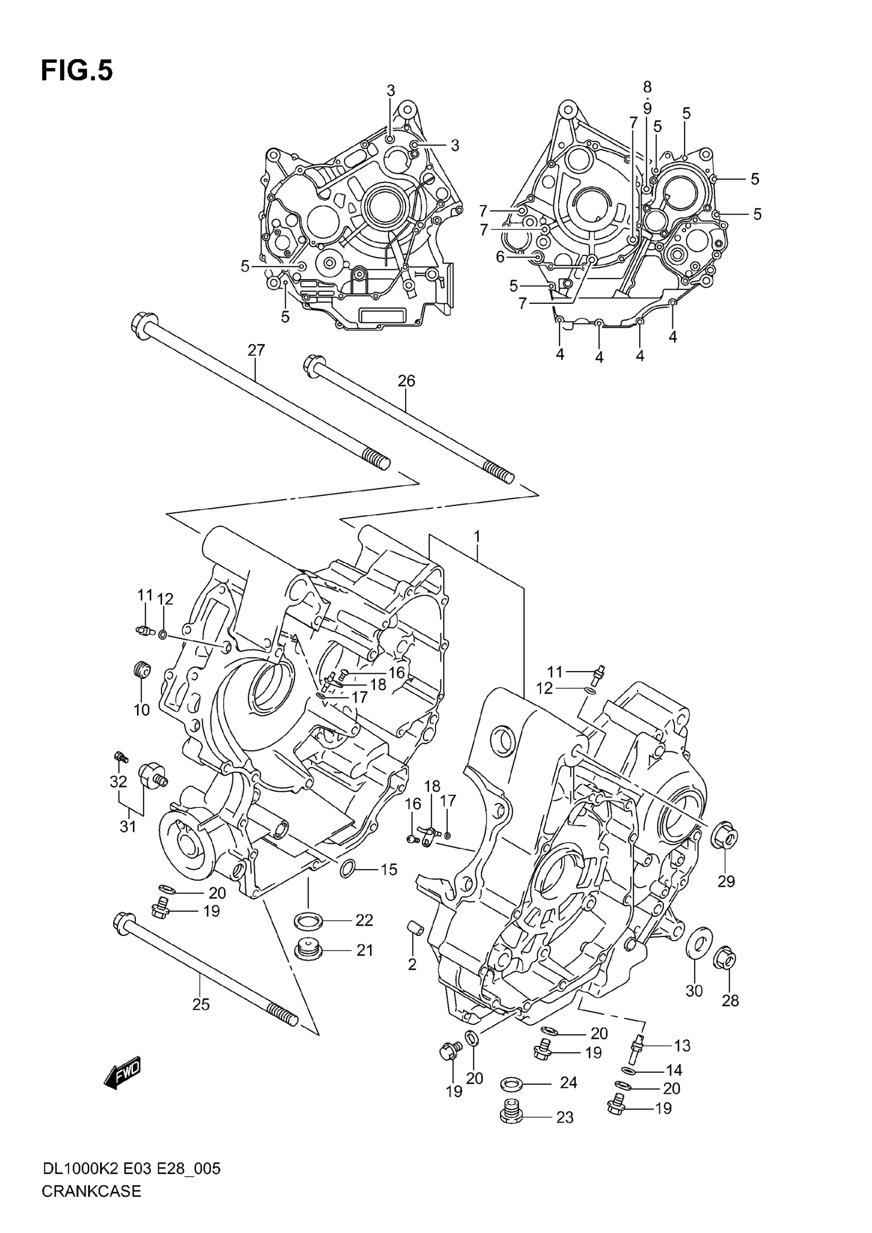
CRANKCASE (MODEL K2/K3/K4/K5)
Suzuki DL1000 (2006) CRANKCASE (MODEL K2/K3/K4/K5) Diagram
#
Description
Price
1
CRANKCASE SET | MODEL K2
11302-06810
Unavailable
1
CRANKCASE SET | MODEL K3
11302-06812
Unavailable
1
CRANKCASE SET | MODEL K4/K5; Includes Item(s) 2 - 15
11302-06821
Unavailable
2
PIN
11319-33E00
Unavailable
3
BOLT (L:110)
09106-08142
Unavailable
7
BOLT This part replaces 07120-08903.
07120-0890B
Unavailable
8
BOLT (L:125)
09106-08136
Unavailable
18
JET, PISTON COOLING
11390-06G00
Unavailable
27
BOLT (L:320) | MODEL K2/K3
09103-12069
Unavailable
31
SWITCH ASSY,OIL PRESSURE | Includes Item(s) 32 This part replaces 37820-33D10.
37820-33D11
$25.13
