Polaris DIESEL - A99CH45CA DRIVE CLUTCH - A99CH45IA (4949154915C002) Diagram
#
Description
Price
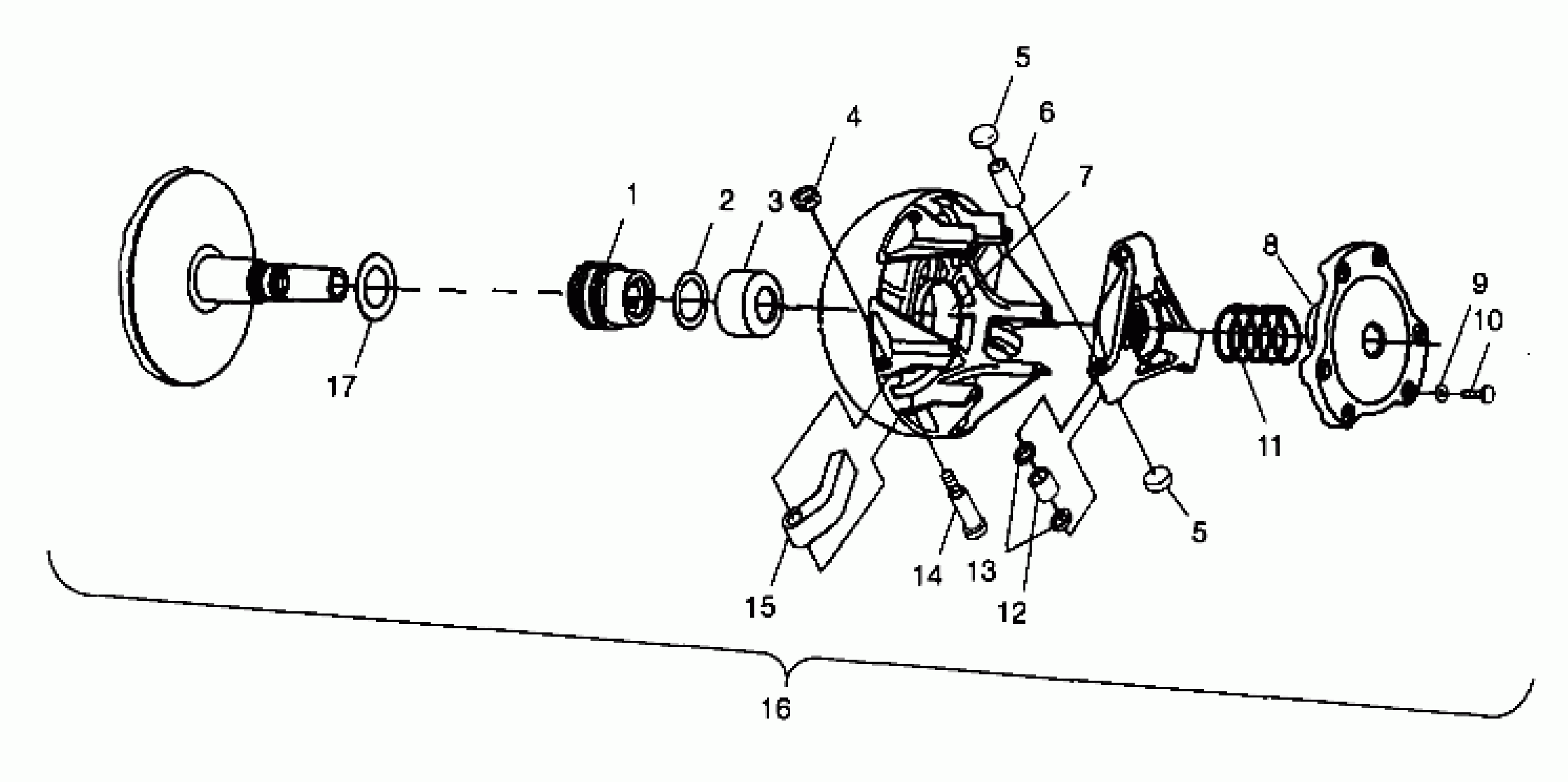
3
SPACER Substituted by 5631119
5131646
Unavailable
5
BUTTON,CLUTCH
5431936
Unavailable
5
BUTTON,CLUTCH
5431936
Unavailable
10
BOLT(10) Substituted by 7512163
7512176
Unavailable
15
WT,SHIFT,D80,DIESEL
5630712
Unavailable
16
CLUTCH,DRIVE,ATV-09 (Incl. All Less 11,15)
1321764
Unavailable
