- Partiron
- OEM Parts
- Honda
- MOTORCYCLE
- 2025
- DAX125AC (25) MOTORCYCLE, THA, VIN# MLHJB065-S5000001
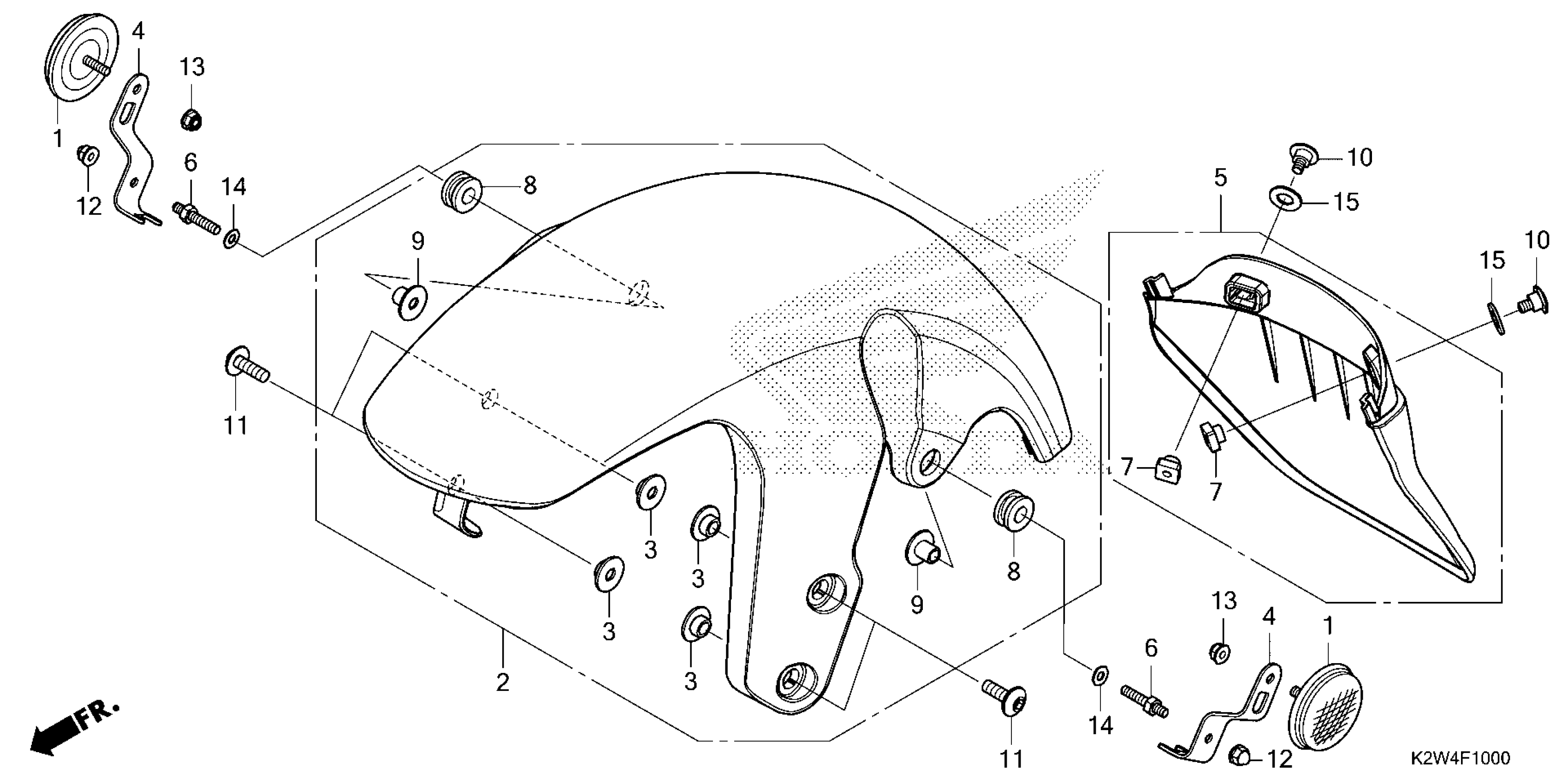
FRONT FENDER
Honda DAX125AC (25) MOTORCYCLE, THA, VIN# MLHJB065-S5000001 FRONT FENDER Diagram
#
Description
Price
FRONT FENDER
#
Edit ride
