- Partiron
- OEM Parts
- Honda
- MOTORCYCLE
- 1983
- CX650CA (83) CUSTOM, JPN, VIN# JH2RC110-DM000018 TO JH2RC110-DM010120
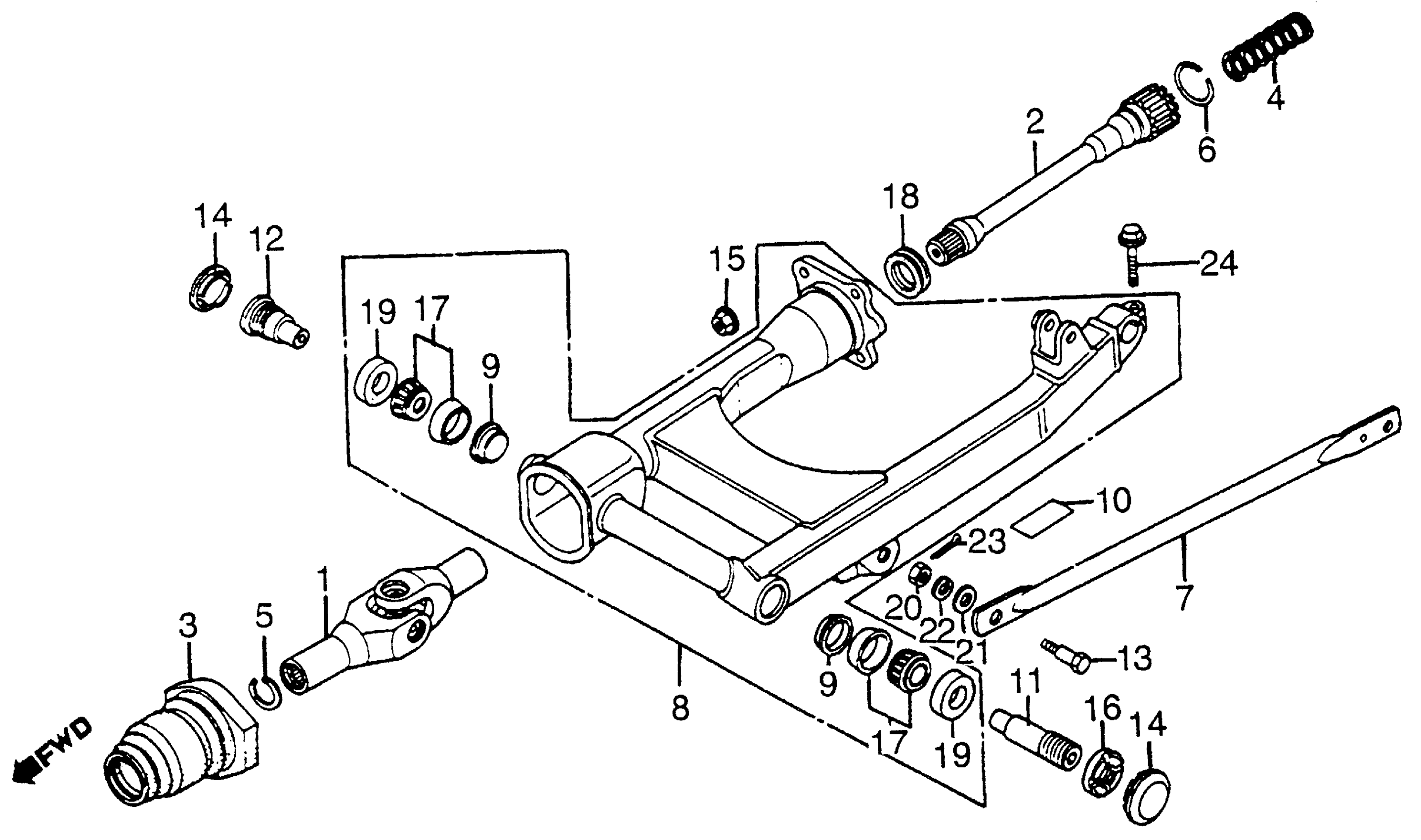
SWINGARM
Honda CX650CA (83) CUSTOM, JPN, VIN# JH2RC110-DM000018 TO JH2RC110-DM010120 SWINGARM Diagram
#
Description
Price
1
JOINT, YOKE (NOT AVAILABLE)
40200-ME8-003
Unavailable
2
SHAFT, DRIVE (NOT AVAILABLE)
40201-ME8-003
Unavailable
3
BOOT, JOINT (NOT AVAILABLE)
40207-415-000
Unavailable
5
RING, YOKE STOPPER (NOT AVAILABLE)
40220-ME8-000
Unavailable
7
ARM, RR. BRAKE STOPPER (NOT AVAILABLE)
43431-ME8-000
Unavailable
8
SWINGARM ASSY. *NH1Z* (BLACK-Z) This part replaces 52110-ME8-000.
52110-ME8-000ZA
Unavailable
8
SWINGARM ASSY. *NH1Z* (BLACK-Z)
52110-ME8-000ZA
Unavailable
9
PLATE, DUST SEAL
52118-415-000
Unavailable
10
LABEL, TIRE CAUTION (NOT AVAILABLE)
87505-ME8-670
Unavailable
11
BOLT, PIVOT (NOT AVAILABLE)
90121-ME8-000
Unavailable
12
BOLT, L. RR. SHOCK PIVOT
90124-ME5-000
Unavailable
16
NUT, LOCK (23MM)
90354-ME5-000
Unavailable
17
BEARING (30202) (NIPPON SEIKO) This part replaces 91066-415-003.
91066-415-006
Unavailable
17
BEARING (30202) (NIPPON SEIKO) This part replaces 91066-415-004.
91066-415-006
Unavailable
17
BEARING (30202) (NIPPON SEIKO) This part replaces 91066-415-005.
91066-415-006
Unavailable
17
BEARING (30202) (NIPPON SEIKO)
91066-415-006
Unavailable
19
OIL SEAL (20X35X5)
91266-ME5-000
Unavailable
19
OIL SEAL (20X35X5)
91266-ME5-003
Unavailable
19
OIL SEAL (20X35X5) This part replaces 91266-ME5-004.
91266-ME5-003
Unavailable
